授权公布号:CN214466717U
一种复合混凝土管
有效
申请
2021-01-29
申请公布
1970-01-01
授权
2021-10-22
预估到期
2031-01-29
| 申请号 | CN202120276891.9 |
| 申请日 | 2021-01-29 |
| 授权公布号 | CN214466717U |
| 授权公告日 | 2021-10-22 |
| 分类号 | F16L9/14;F16L58/10;F16L47/06;G01M3/28 |
| 分类 | 工程元件或部件;为产生和保持机器或设备的有效运行的一般措施;一般绝热; |
| 申请人名称 | 宁夏青龙管业集团股份有限公司 |
| 申请人地址 | 宁夏回族自治区吴忠市青铜峡市河西 |
专利法律状态
2021-10-22
授权
状态信息
授权
摘要
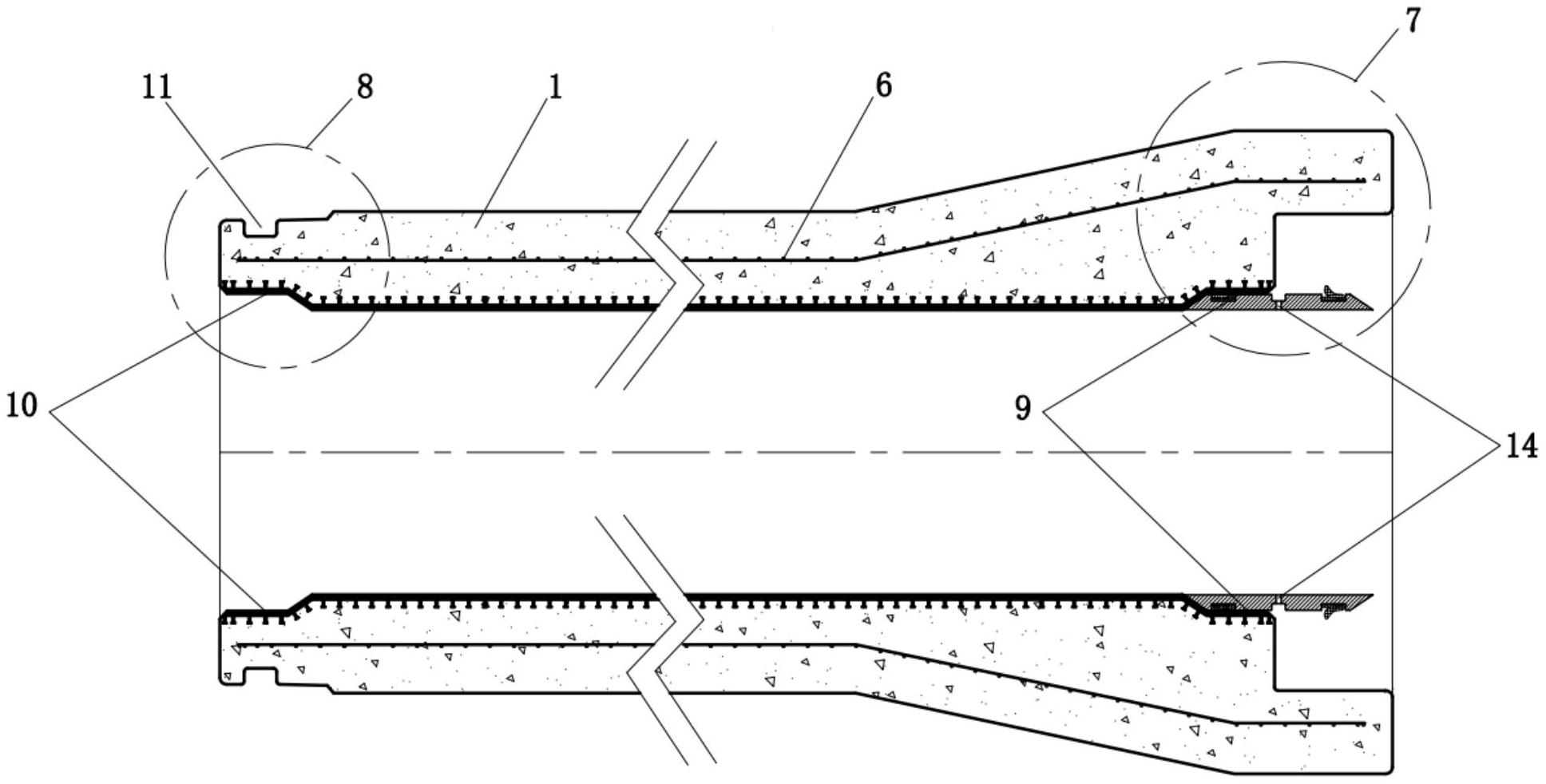
本实用新型公开了一种复合混凝土管,包括混凝土管本体,混凝土管本体包括内衬层,内衬层外壁上设置有锚栓,内衬层外设有定型钢筋网,锚栓和钢筋网均嵌埋于混凝土管本体内;混凝土管本体还包括承口端和插口端,承口端和插口端内壁的接口处设置有凹向管壁的轮廓定型,轮廓定型处的内衬层上均安装有聚丙烯材料制成的管端接头,管端接头上设置有水压试验孔两个,管端接头两端均设置有定位槽,定位槽外套有环形双倾斜边缘垫圈;它满足用于污水处理的管道的基本要求,管端接头与承插口对接后的内壁连接可以不焊接,通过专门设计的双倾斜边缘垫圈即可完成紧密结合,节约了成本和时间;在动负荷下可保持静负载;可以快速安装、打压和安全操作。


