授权公布号:CN217665682U
一种压槽设备
有效
申请
2022-07-07
申请公布
1970-01-01
授权
2022-10-28
预估到期
2032-07-07
| 申请号 | CN202221756609.8 |
| 申请日 | 2022-07-07 |
| 授权公布号 | CN217665682U |
| 授权公告日 | 2022-10-28 |
| 分类号 | B21D22/02;B21D37/10 |
| 分类 | 基本上无切削的金属机械加工;金属冲压; |
| 申请人名称 | 宁夏青龙管业集团股份有限公司 |
| 申请人地址 | 宁夏回族自治区吴忠市青铜峡市河西 |
专利法律状态
2022-10-28
授权
状态信息
授权
摘要
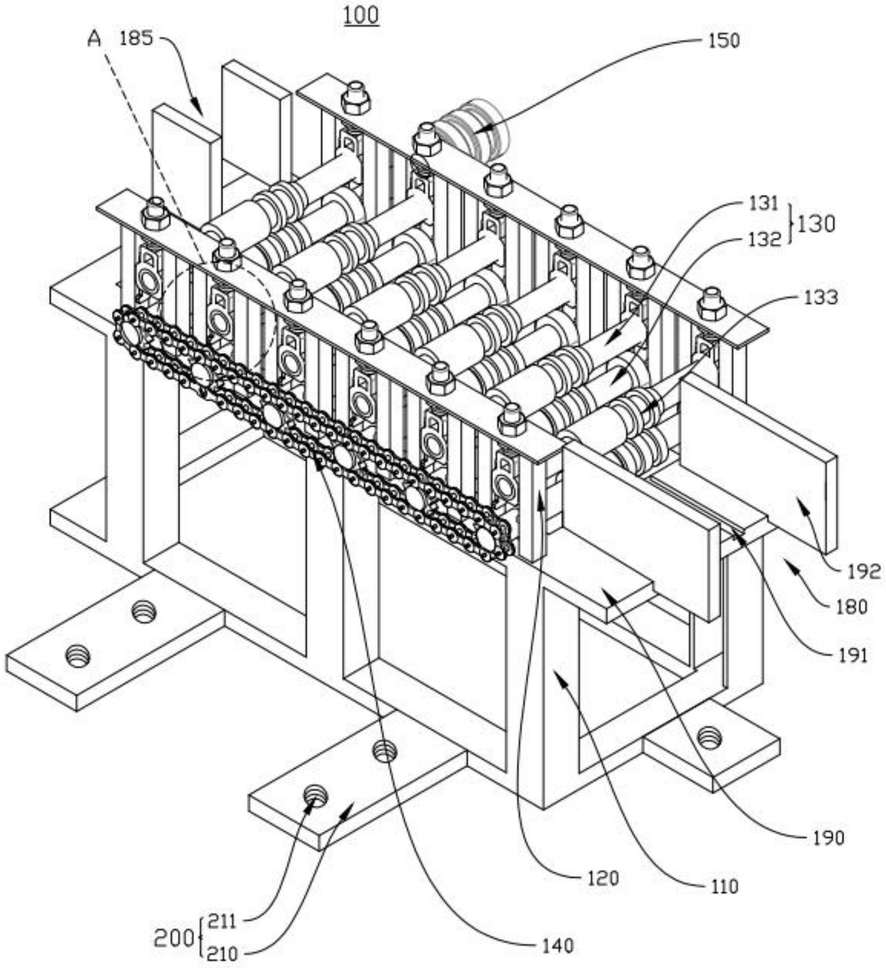
本申请公开了一种压槽设备,压槽设备包括基座,基座顶部设置有两个固定架,两个固定架位于基座上相对的两侧,两个固定架上分别设置有多个相互对应的限位孔,两个固定架上的两个相互对应的限位孔内连接有挤压件,挤压件包括上压辊和下压辊,上压辊和下压辊的两端分别转动连接于限位孔内,上压辊和下压辊的周向上分别设置有相互对应的挤压凹槽,多个下压辊的一端延伸至固定架外侧并分别固定连接有齿轮,齿轮上设置有链条,链条将多个下压辊连接为一体,一个下压辊远离链条的一端向外延伸至固定架外侧后形成连接端,连接端连接有驱动设备。通过上述方式本申请实现了对双胶圈插口环的方便成型。


