授权公布号:CN220578587U
一种管材盘管装置
有效
申请
2023-08-23
申请公布
1970-01-01
授权
2024-03-12
预估到期
2033-08-23
| 申请号 | CN202322276627.7 |
| 申请日 | 2023-08-23 |
| 授权公布号 | CN220578587U |
| 授权公告日 | 2024-03-12 |
| 分类号 | B65H54/44;B65H75/24 |
| 分类 | 输送;包装;贮存;搬运薄的或细丝状材料; |
| 申请人名称 | 广西国塑管业集团有限公司 |
| 申请人地址 | 广西壮族自治区南宁市伊岭工业集中区城南工业园(双桥平陆) |
专利法律状态
2024-03-12
授权
状态信息
授权
摘要
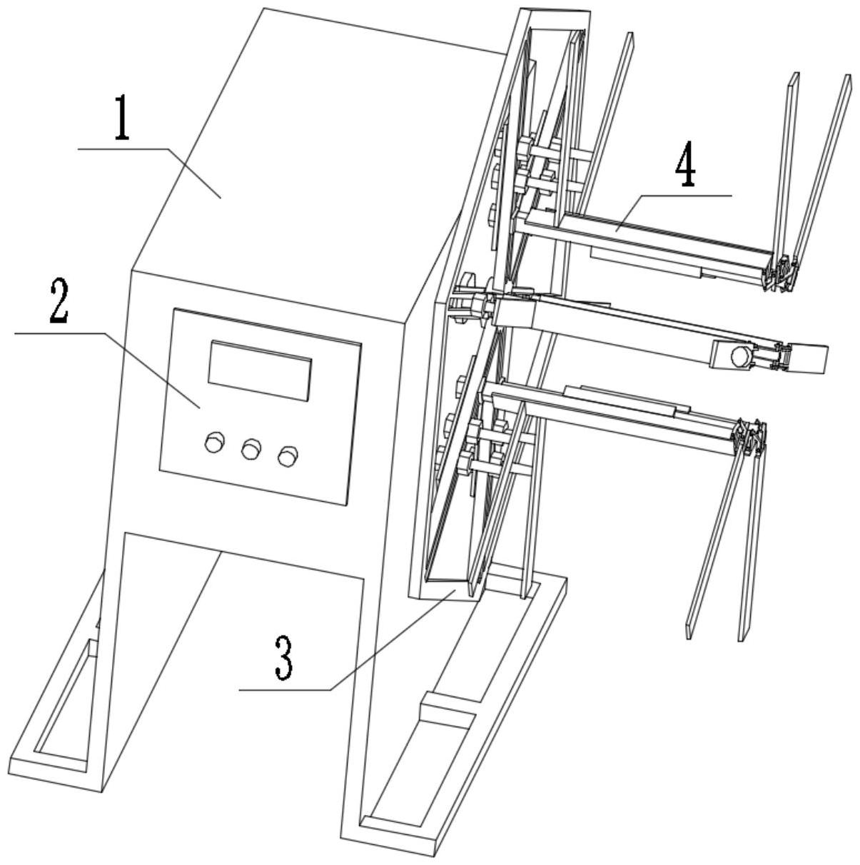
本实用新型公开了一种管材盘管装置,属于盘管装置技术领域。该装置包括基座,其内部设置有空腔;驱动组件,包括控制器和电机;电机设置于空腔内;电机的输出端穿过基座的,裸露在基座的外侧;控制器与电机电连接;调节架,其设置于电机的输出端上;调节架包括调节杆;多根调节杆沿电机输出端轴线的圆周方向间隔分布;调节杆上开设有滑槽;收卷组件,包括支撑杆和板体;支撑杆的一端通过滑槽与调节杆滑动连接,该一端开设有螺纹孔;支撑杆的朝向与电机的输出端的朝向一致;板体沿支撑杆的长度方向并行设置;板体的朝向垂直于支撑杆的朝向。本申请通过调节支撑杆的位置,缩小或扩大支撑杆之间的距离,实现收卷内径的调节。


