授权公布号:CN210399794U
一种建筑板材原料加工用烘干设备
有效
申请
2019-09-09
申请公布
1970-01-01
授权
2020-04-24
预估到期
2029-09-09
| 申请号 | CN201921492220.5 |
| 申请日 | 2019-09-09 |
| 授权公布号 | CN210399794U |
| 授权公告日 | 2020-04-24 |
| 分类号 | F26B11/04;F26B23/02;F26B25/00 |
| 分类 | 干燥; |
| 申请人名称 | 安徽省中坤元新型建材有限公司 |
| 申请人地址 | 安徽省淮北市相山区淮海西路30号成品库5# |
专利法律状态
2020-04-24
授权
状态信息
授权
摘要
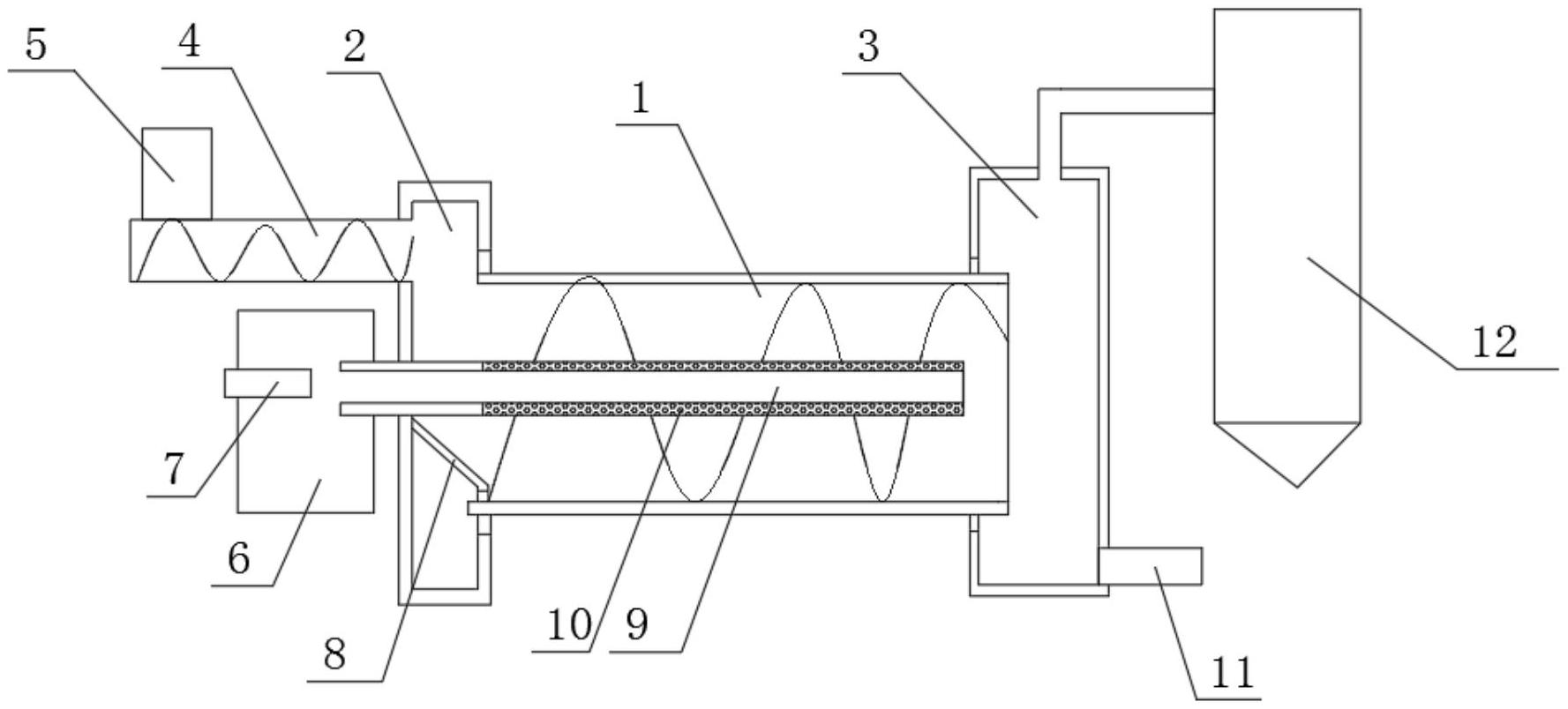
本实用新型涉及建筑板材技术领域,尤其为一种建筑板材原料加工用烘干设备。本实用新型中,通过在烘干滚筒两端分别设置进料箱、出料箱,其中,进料箱上设置的螺旋送料机可将板材原料输送到进料箱内,进料箱底部设置的挡板可将板材原料导入到烘干筒内,设置的燃烧箱通入混合燃气后燃烧,热气顺着导气管导入烘干滚筒内,当电机带动烘干滚筒转动时,可完成对板材原料的烘干,烘干完成的板材原料掉落到出料箱内,从出料口排出,期间,烘干滚筒内扬起的粉尘从导气管导入到旋风除尘器内,除尘后排出,该设备,操作方便,可实现对板材原料的流水线式烘干,提高工作效率,且操作过程中粉尘不会外流,环保安全。


