授权公布号:CN105133648B
一种检查井专用爬梯
有效
申请
2015-07-28
申请公布
2015-12-09
授权
2017-08-25
预估到期
2035-07-28
| 申请号 | CN201510450020.3 |
| 申请日 | 2015-07-28 |
| 申请公布号 | CN105133648A |
| 申请公布日 | 2015-12-09 |
| 授权公布号 | CN105133648B |
| 授权公告日 | 2017-08-25 |
| 分类号 | E02D29/12;E03F5/02;E06C9/02;C08L67/06;C08L25/06;C08K13/06;C08K9/06;C08K7/20;C08K7/14;C08K3/26;C08K5/14;C08K3/22 |
| 分类 | 水利工程;基础;疏浚; |
| 申请人名称 | 昆明普尔顿环保科技股份有限公司 |
| 申请人地址 | 云南省昆明市五华区科华路1号山灞大厦10楼 |
专利法律状态
2020-04-07
专利权质押合同登记的生效、变更及注销
状态信息
专利权质押合同登记的生效;IPC(主分类):E02D29/12;登记号:Y2020530000006;登记生效日:20200313;出质人:昆明普尔顿环保科技股份有限公司;质权人:昆明产业开发投资有限责任公司;发明名称:一种检查井专用爬梯;申请日:20150728;授权公告日:20170825
2017-08-25
授权
状态信息
授权
2016-02-10
实质审查的生效
状态信息
实质审查的生效;IPC(主分类):E02D29/12;申请日:20150728
2015-12-09
公布
状态信息
公布
摘要
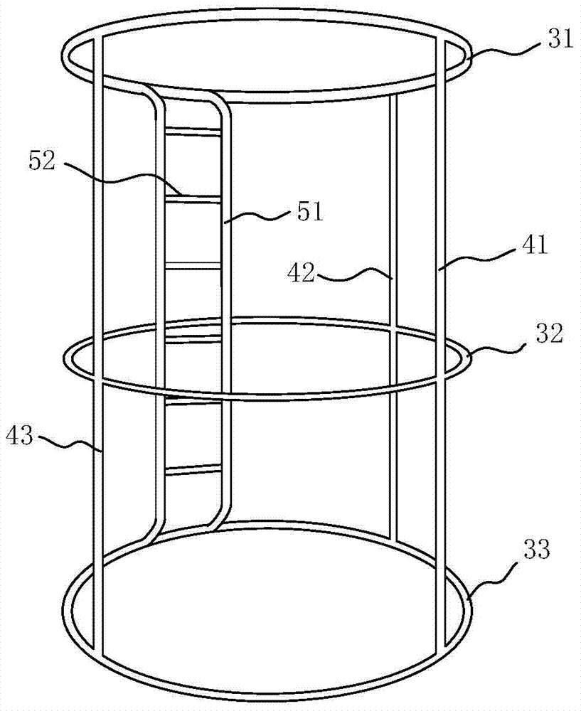
本发明涉及给排水设施,目的是提供一种能方便塑料检查井使用维护的专用爬梯。一种检查井专用爬梯,包括一个支撑笼和爬梯本体,支撑笼外侧支撑在检查井内壁,支撑笼内固定爬梯本体,爬梯本体的上下两端弯曲使爬梯中部靠近支撑笼中心,所述支撑笼内壁与爬梯之间的区域供使用者上下。所述爬梯位于壳体内腔及座体内腔位于检查井口下方的位置;所述爬梯和检查井口为上部粗、下部细的变径形状;爬梯上的一个钢圈支撑在检查井口内壁的变径部。专用爬梯结构巧妙、使用方便。


