授权公布号:CN105804225B
一种塑料弃流式雨水罐
有效
申请
2016-03-17
申请公布
2016-07-27
授权
2018-07-06
预估到期
2036-03-17
| 申请号 | CN201610153507.X |
| 申请日 | 2016-03-17 |
| 申请公布号 | CN105804225A |
| 申请公布日 | 2016-07-27 |
| 授权公布号 | CN105804225B |
| 授权公告日 | 2018-07-06 |
| 分类号 | E03F5/10;E03F5/14;C08L67/06;C08L25/06;C08L33/12;C08K13/04;C08K7/14;C08K3/36;C08K5/098;C08K3/22 |
| 分类 | 给水;排水; |
| 申请人名称 | 昆明普尔顿环保科技股份有限公司 |
| 申请人地址 | 云南省昆明市五华区科华路1号山灞大厦10楼 |
专利法律状态
2020-04-07
专利权质押合同登记的生效、变更及注销
状态信息
专利权质押合同登记的生效IPC(主分类):E03F5/10登记号:Y2020530000006登记生效日:20200313出质人:昆明普尔顿环保科技股份有限公司质权人:昆明产业开发投资有限责任公司发明名称:一种塑料弃流式雨水罐授权公告日:20180706
2018-07-06
授权
状态信息
授权
2016-09-07
实质审查的生效
状态信息
实质审查的生效IPC(主分类):E03F 5/10申请日:20160317
2016-07-27
公布
状态信息
公开
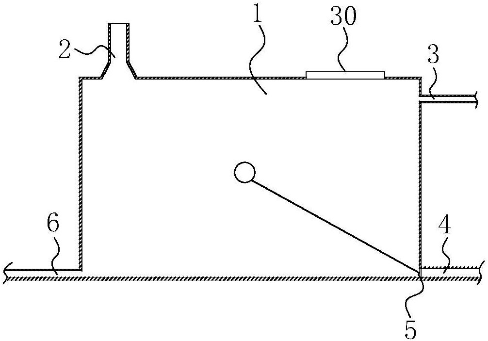
摘要
本发明涉及雨水综合应用领域。目的在于提供一种显著提高收集的雨水品质的塑料弃流式雨水罐。所采用的技术方案是:一种塑料弃流式雨水罐,包括罐体,所述罐体上部设置雨水进口,下部设置弃流口和人工控制出水口,所述弃流口与污水管网连接;所述雨水进口的口径大于弃流口的口径,所述弃流口处设置浮球阀;所述浮球阀呈罐体内水位低于一定高度时打开,达到一定高度时关闭的状态。本发明能够显著的提高收集到的雨水的品质,从而提升了雨水应用的水平。


