授权公布号:CN207893882U
一种多功能除甲醛空气机
有效
申请
2018-01-30
申请公布
1970-01-01
授权
2018-09-21
预估到期
2028-01-30
| 申请号 | CN201820163991.9 |
| 申请日 | 2018-01-30 |
| 授权公布号 | CN207893882U |
| 授权公告日 | 2018-09-21 |
| 分类号 | F24F1/02;F24F3/16;F24F13/32;F24F13/20;F24F13/28;F24F6/12;F24F11/89;F24F110/10 |
| 分类 | 供热;炉灶;通风; |
| 申请人名称 | 广州叶子环保科技有限公司 |
| 申请人地址 | 广东省广州市番禺区东环街番禺大道北555号番禺节能科技园内天安科技创新大厦715之一 |
专利法律状态
2018-09-21
授权
状态信息
授权
摘要
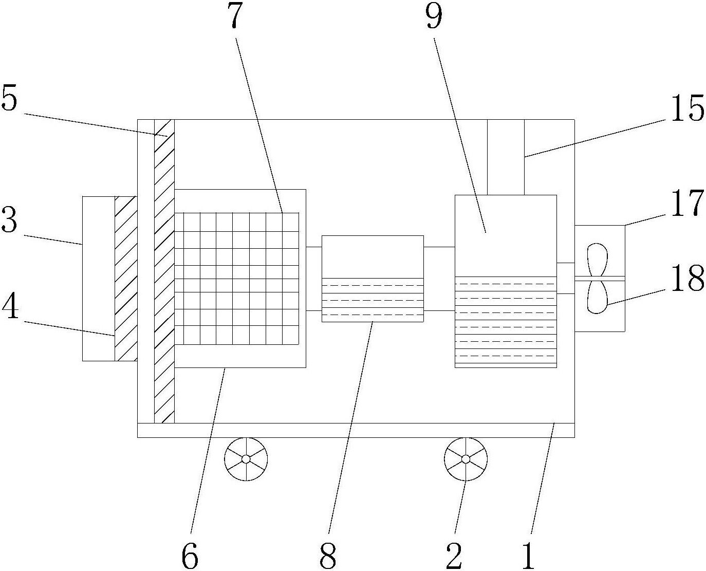
本实用新型公开了一种多功能除甲醛空气机,包括壳体,所述壳体的一侧设置有进风口,所述进风口的内部设置有第一过滤网,所述壳体的内部靠近进风口的一侧设置有安装板,所述安装板上卡接有第二过滤网,所述第二过滤网的内部设置有滤芯,所述第二过滤网的一侧设置有吸收液槽,所述吸收液槽的一侧设置有制雾装置,所述制雾装置包括水箱,所述水箱的内部设置有雾化器,所述雾化器的一侧设置有加热器,所述水箱的底部一侧设置有水位检测器,所述壳体的另一侧设置有出风口。本实用新型通过设置壳体、进风口、第一过滤网、第二过滤网、吸收溶液槽、置雾装置和出风口,解决了传统的除甲醛空气机功能单一,且改进效果不明显的问题。


