授权公布号:CN210197532U
一种便捷型空气净化器
有效
申请
2019-07-08
申请公布
1970-01-01
授权
2020-03-27
预估到期
2029-07-08
| 申请号 | CN201921052467.5 |
| 申请日 | 2019-07-08 |
| 授权公布号 | CN210197532U |
| 授权公告日 | 2020-03-27 |
| 分类号 | F24F3/16;F24F11/52;F24F13/28;F24F110/50 |
| 分类 | 供热;炉灶;通风; |
| 申请人名称 | 奥得奥科技(厦门)有限公司 |
| 申请人地址 | 福建省厦门市海沧区新阳街道新光东路5号3层全层厂房 |
专利法律状态
2021-08-10
专利权质押合同登记的生效、变更及注销
状态信息
专利权质押合同登记的生效IPC(主分类):F24F3/16登记号:Y2021980006616登记生效日:20210723出质人:奥得奥科技(厦门)有限公司质权人:厦门海沧融资担保有限公司实用新型名称:一种便捷型空气净化器授权公告日:20200327
2020-03-27
授权
状态信息
授权
摘要
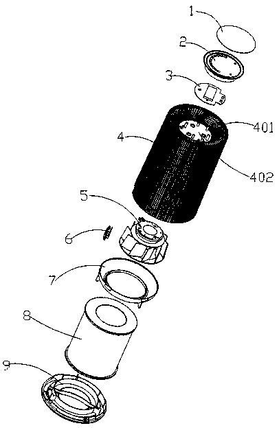
一种便捷型空气净化器包括有电控装置、过滤装置、网格外壳及盖设在网格外壳底端的底盖,过滤装置安装在网格外壳内部;过滤装置是由风道导风体、安装在风道导风体上的风机及过滤筒体组成;电控装置是由电路控制板、空气质量传感器及显示屏支架组成;本实用新型结构设计合理,通过在网格外壳内安装过滤筒体,并在过滤筒体内的上端设置风机及风道导风体,可以很好地将抽入其内的空气进行过滤净化,并通过空气质量传感器实时监测空气质量,结构小巧,非常适合室内小空间的空气净化。


