授权公布号:CN214040849U
一种多功能空气治理采样装置
有效
申请
2020-12-24
申请公布
1970-01-01
授权
2021-08-24
预估到期
2030-12-24
| 申请号 | CN202023161335.1 |
| 申请日 | 2020-12-24 |
| 授权公布号 | CN214040849U |
| 授权公告日 | 2021-08-24 |
| 分类号 | G01N1/26;G01N1/38 |
| 分类 | 测量;测试; |
| 申请人名称 | 福建千祥环保科技有限公司 |
| 申请人地址 | 福建省福州市马尾区湖里路27号1#楼2-3K室(自贸试验区内) |
专利法律状态
2021-08-24
授权
状态信息
授权
摘要
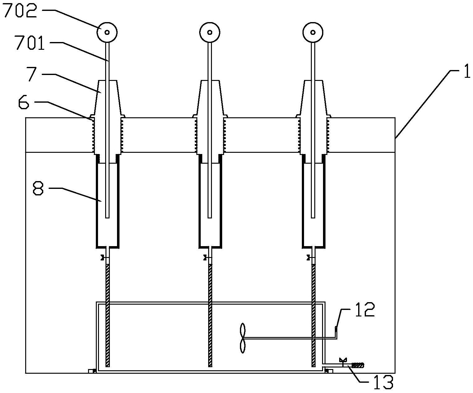
本实用新型公开了一种多功能空气治理采样装置,其特征在于:包括箱体、箱门、采样瓶,所述箱体顶部设置有若干个放置所述采样瓶的固定孔,所述采样瓶包括盖体和瓶体,所述盖体内竖直设置有入气管,所述入气管贯穿所述盖体;所述盖体外侧面设置有第一螺纹,所述第一螺纹下方设置有第二螺纹;所述固定孔内壁设置有与所述第一螺纹相适配的第三螺纹,所述瓶体顶部内侧设置有与所述第二螺纹相适配的第四螺纹;所述瓶体底部设置有第一出液管,所述第一出液管上设置有第一阀门,用于开关所述第一出液管,所述箱体底部设置有接液盆。本实用新型的目的在于提供一种多功能空气治理采样装置,采用多管入气,解决了空气样本单一的问题,提高空气治理效果。


