授权公布号:CN107782929B
一种预警主机线路板检测台
有效
申请
2017-12-11
申请公布
2018-03-09
授权
2023-09-26
预估到期
2037-12-11
| 申请号 | CN201711306410.9 |
| 申请日 | 2017-12-11 |
| 申请公布号 | CN107782929A |
| 申请公布日 | 2018-03-09 |
| 授权公布号 | CN107782929B |
| 授权公告日 | 2023-09-26 |
| 分类号 | G01R1/04;G01R31/67;G01R31/28 |
| 分类 | 测量;测试; |
| 申请人名称 | 河南护航实业股份有限公司 |
| 申请人地址 | 浙江省杭州市临安区青山湖街道胜联路868号1幢305室(自主申报) |
专利法律状态
2023-12-29
专利申请权、专利权的转移
状态信息
专利权的转移;IPC(主分类):G01R1/04;专利号:ZL2017113064109;登记生效日:20231214;变更事项:专利权人;变更前权利人:河南护航实业股份有限公司;变更后权利人:浙江众合护航科技有限公司;变更事项:地址;变更前权利人:450000 河南省郑州市高新区长椿路11号河南省国家大学科技园孵化园区1#孵化楼1309-1317;变更后权利人:310000 浙江省杭州市临安区青山湖街道胜联路868号1幢305室(自主申报)
2023-09-26
授权
状态信息
授权
2018-04-03
实质审查的生效
状态信息
实质审查的生效;IPC(主分类):G01R1/04;申请日:20171211
2018-03-09
公布
状态信息
公布
摘要
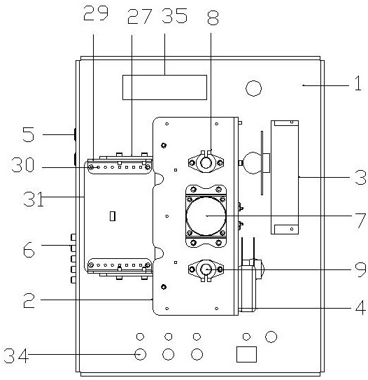
本发明公开了一种预警主机线路板检测台,包括有底座,所述底座为矩型结构,所述底座上顶面中间位置设置有主壳体,所述主壳体为矩型空心结构,所述主壳体的下底面与底座上顶面可拆卸连接,所述底座的上顶面靠近主壳体后侧面的位置设置有电机控制器,所述主壳体的后侧面靠近下底面的位置设置有小型变压器,所述主壳体的上顶面设置有小型电动机,小型电动机的转动轴上设置有带有螺纹的转动轴,其带动上检测板的上下浮动,上检测板下设置有检测探针,检测探针能够对检测板上的线路板进行快速有效的检测,本发明使用方便,结构简单易懂,存放占用空间小,成本较低。


