授权公布号:CN210027303U
一种固定汽车控制器的安装支架
有效
申请
2019-06-10
申请公布
1970-01-01
授权
2020-02-07
预估到期
2029-06-10
| 申请号 | CN201920855477.6 |
| 申请日 | 2019-06-10 |
| 授权公布号 | CN210027303U |
| 授权公告日 | 2020-02-07 |
| 分类号 | B60R16/02 |
| 分类 | 一般车辆; |
| 申请人名称 | 厦门市宏拉科技股份有限公司 |
| 申请人地址 | 福建省厦门市火炬高新区(翔安)产业区翔安西路8059号第六层之一 |
专利法律状态
2020-02-07
授权
状态信息
授权
摘要
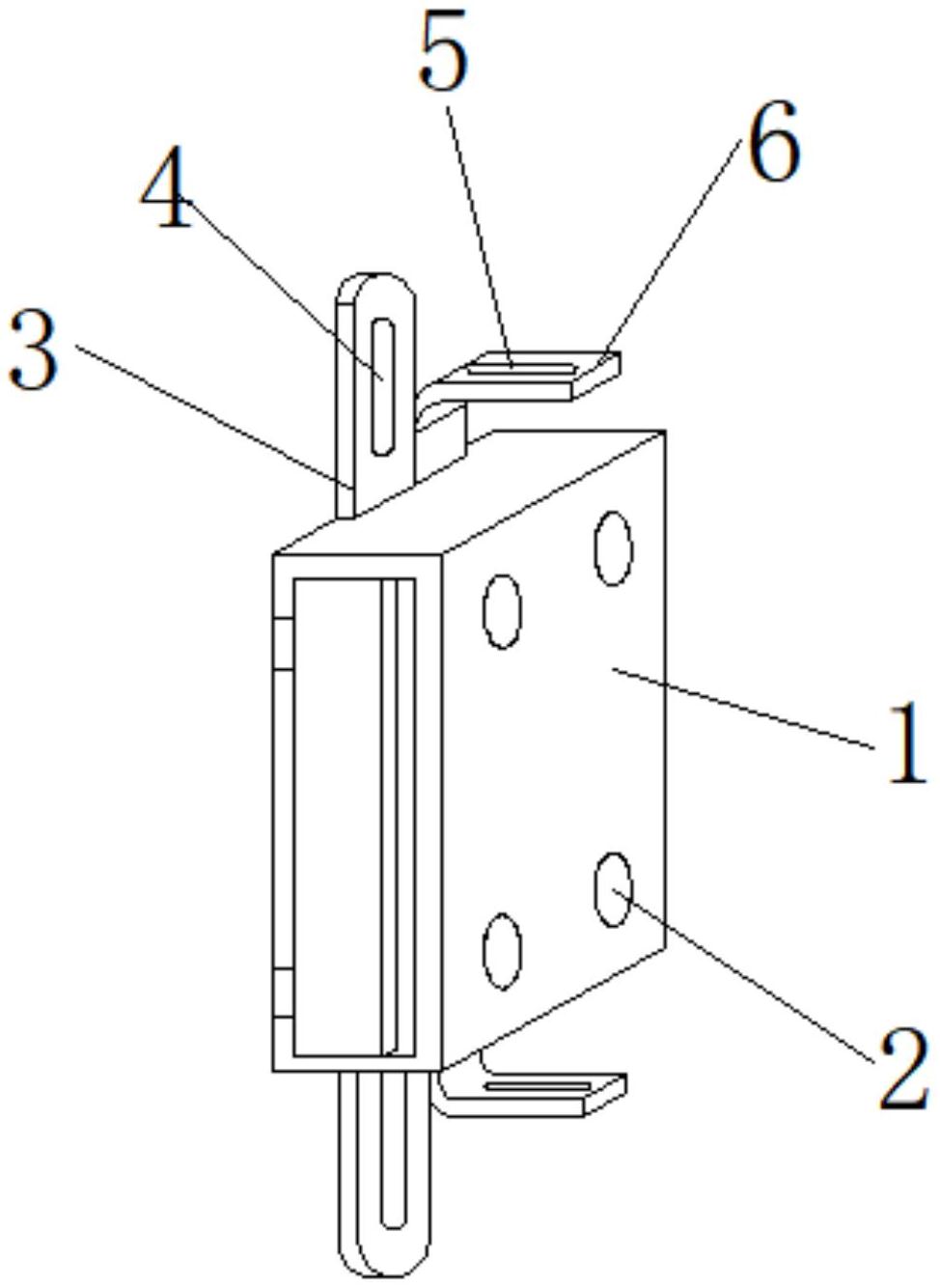
本实用新型公开了一种固定汽车控制器的安装支架,包括固定架主体,所述固定架主体的前端外表面设置有挡板,所述固定架主体的上端外表面固定连接有第一耳板与第二耳板,所述第一耳板位于第二耳板的前侧,所述第一耳板的一侧外表面开设有第一条形安装槽,所述第二耳板的上端外表面开设有第二条形安装槽,所述固定架主体的一侧外表面开设有散热孔,所述挡板的一侧外表面固定连接有连接件,所述连接件的一端固定连接有转轴,所述固定架主体的前端外表面靠近一侧的位置开设有活动槽。本实用新型能够使控制器水平或垂直安装,为使用者带来一定的便利,同时可以有效的降低控制器接口以及导线接头损坏的几率。


