授权公布号:CN215021797U
一种可步态模拟训练的站立助行器
有效
申请
2020-12-10
申请公布
1970-01-01
授权
2021-12-07
预估到期
2030-12-10
| 申请号 | CN202022970492.0 |
| 申请日 | 2020-12-10 |
| 授权公布号 | CN215021797U |
| 授权公告日 | 2021-12-07 |
| 分类号 | A61H3/04;A61H1/02 |
| 分类 | 医学或兽医学;卫生学; |
| 申请人名称 | 临沂市博裕电动车有限公司 |
| 申请人地址 | 山东省临沂市兰山区枣园镇周家庄村 |
专利法律状态
2021-12-07
授权
状态信息
授权
摘要
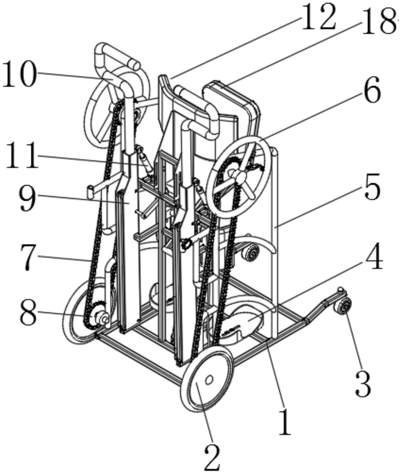
实用新型提供一种可步态模拟训练的站立助行器,涉及站立助行器技术领域,包括底架,所述底架的一侧设置有前轮,所述底架的另一侧设置有后轮,所述底架的顶部设置有脚踏,所述底架的顶部且位于脚踏的一侧设置有立柱,所述立柱的顶部设置有大轮,所述大轮的一侧设置有链条,所述链条的底部设置有齿轮,所述底架的顶部一侧设置有支撑座,所述支撑座的顶部设置有握把,所述支撑座的一侧设置有气弹簧,所述立柱的顶部一侧设置有护垫。解决了现有的站立助行器在使用时,不能让患者进行很好的步态模拟训练,降低了站立助行器的使用效果,不利于长期进行使用的问题。


