授权公布号:CN218717483U
双叶片转子及包括其的真空泵
有效
申请
2022-11-28
申请公布
1970-01-01
授权
2023-03-24
预估到期
2032-11-28
| 申请号 | CN202223158640.4 |
| 申请日 | 2022-11-28 |
| 授权公布号 | CN218717483U |
| 授权公告日 | 2023-03-24 |
| 分类号 | F04C18/344;F04C25/02;F04C29/00 |
| 分类 | 液体变容式机械;液体泵或弹性流体泵; |
| 申请人名称 | 采埃孚商用车系统(青岛)有限公司 |
| 申请人地址 | 山东省青岛市黄岛区渭河路917号 |
专利法律状态
2023-03-24
授权
状态信息
授权
摘要
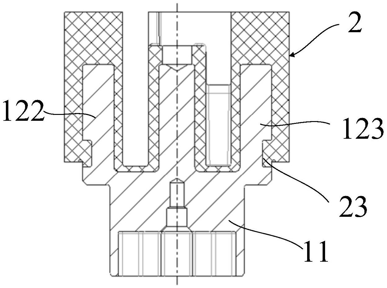
本实用新型提供了一种双叶片转子及包括其的真空泵,该双叶片转子,用于在真空泵的腔室内绕旋转轴线做旋转运动,包括金属件和圆柱形的塑料件;所述金属件包括圆柱体和与所述圆柱体的一端连接的主连接件;所述塑料件的第一端面设置有第一槽和第二槽,所述塑料件的第二端面设置有可套设连接所述主连接件的主凹槽,所述塑料件通过所述主凹槽套设于所述主连接件;所述第一槽和所述第二槽分别被配置为容置真空泵的第一叶片和第二叶片。本实用新型的双叶片转子是金属和塑料的组合件,重量更轻,有助于双叶片真空泵实现更低的功耗和更好的性能,满足了双叶片机械真空泵要求。


