授权公布号:CN218634310U
一种车辆实时监控系统
有效
申请
2022-09-23
申请公布
1970-01-01
授权
2023-03-14
预估到期
2032-09-23
| 申请号 | CN202222540860.7 |
| 申请日 | 2022-09-23 |
| 授权公布号 | CN218634310U |
| 授权公告日 | 2023-03-14 |
| 分类号 | H04W4/44;G01S19/42;B60R11/00 |
| 分类 | 电通信技术; |
| 申请人名称 | 深圳市鸿途智行科技有限公司 |
| 申请人地址 | 广东省深圳市龙华区观湖街道松元厦社区上围新村77-1号恒泰云谷创意园402 |
专利法律状态
2023-03-14
授权
状态信息
授权
摘要
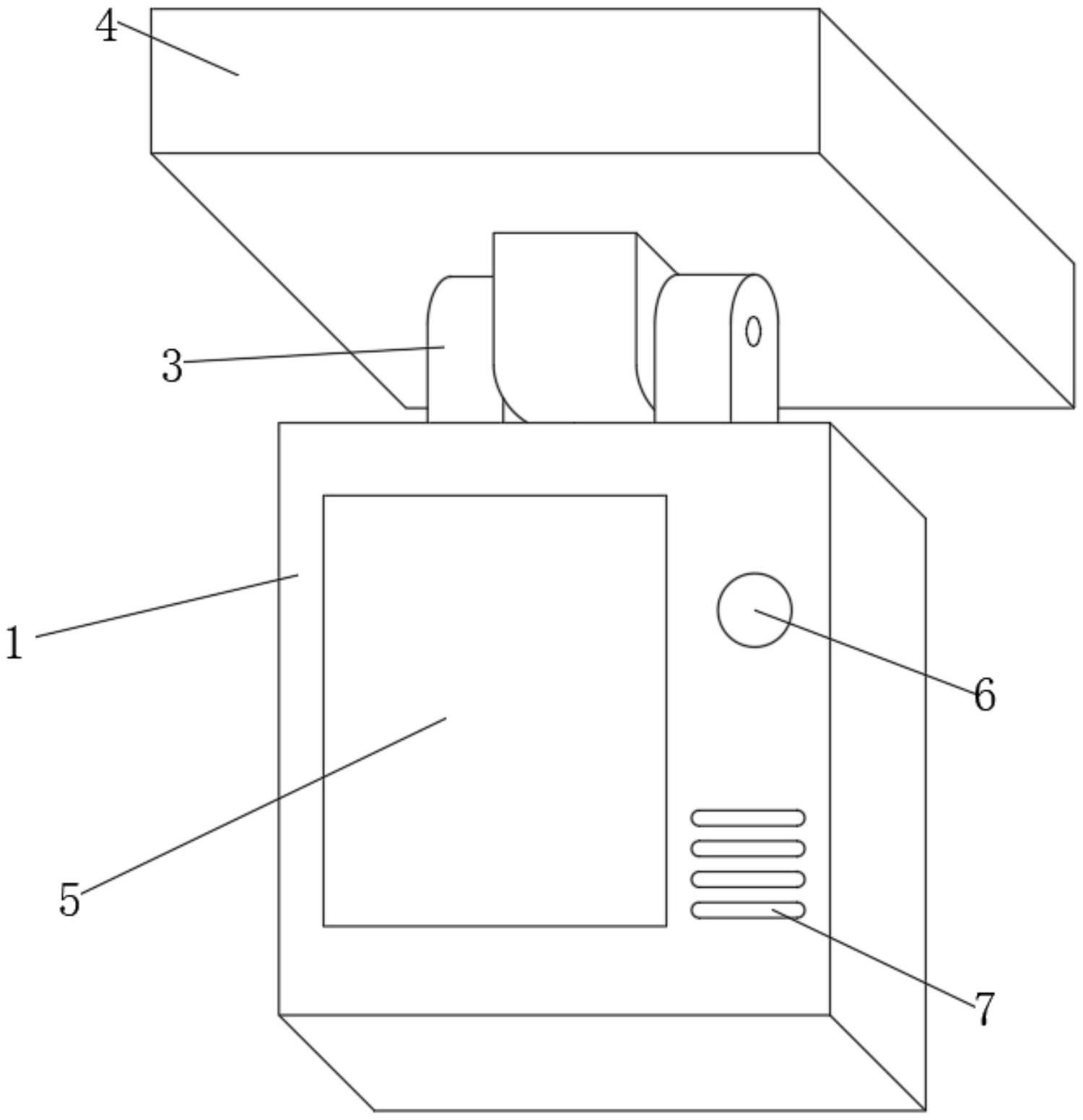
本实用新型涉及一种车辆实时监控系统,包括检测器、电路组件和角度调节组件,电路组件设置设置在检测器的内部,角度调节组件设置在检测器的上方;电路组件包括北斗定位模块、5G交互模块、人脸识别模块、云端交互模块、语音通话模块、控制模块和警报模块;角度调节组件用于实现对检测器角度的调节,本实用新型的有益效果在于,通过设置电路组件可以更好的监控工程用车,在实际使用中,驾驶员首先通过人脸识别模块进行人脸识别,从而确认驾驶者身份,随后当驾驶员行驶车辆时,通过北斗定位模块进行对工程汽车的定位,随后通过5G交互模块与互联网连接,继而通过云端交互模块与云端平台进行数据和命令的传输。


