授权公布号:CN210822204U
一种带位移测量的气制动阀
有效
申请
2019-11-04
申请公布
1970-01-01
授权
2020-06-23
预估到期
2029-11-04
| 申请号 | CN201921881179.0 |
| 申请日 | 2019-11-04 |
| 授权公布号 | CN210822204U |
| 授权公告日 | 2020-06-23 |
| 分类号 | B60T15/04;G01B7/02 |
| 分类 | 一般车辆; |
| 申请人名称 | 焦作博瑞克控制技术有限公司 |
| 申请人地址 | 河南省焦作市博爱县发展大道(东段)1688号焦作博瑞克控制技术有限公司 |
专利法律状态
2020-06-23
授权
状态信息
授权
摘要
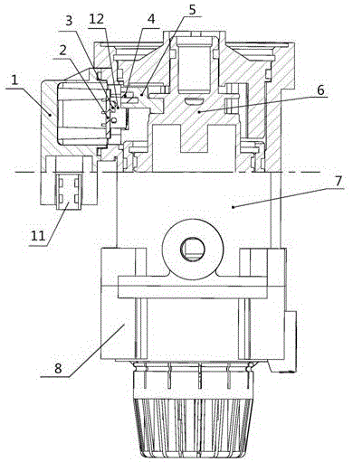
本实用新型公开了一种带位移测量的气制动阀,包括上壳体、下壳体,上壳体与下壳体固定连接,上壳体内套接有上活塞,下壳体内套接有下活塞;所述上壳体侧面设置有传感器壳体,传感器壳体固定连接在上壳体外侧面且传感器壳体内部与上壳体内部相连通,传感器壳体内部固定连接有电路板和霍尔式芯片,霍尔式芯片与电路板电性连接;所述上活塞侧面设置有磁铁支架,磁铁支架呈半圆环状,磁铁支架固定套接在上活塞外侧,磁铁支架上固定连接磁铁,磁铁的位置与霍尔式芯片的位置相对应。


