授权公布号:CN210830600U
一种具有防水和三防功能的气压调节阀
有效
申请
2019-11-08
申请公布
1970-01-01
授权
2020-06-23
预估到期
2029-11-08
| 申请号 | CN201921919695.8 |
| 申请日 | 2019-11-08 |
| 授权公布号 | CN210830600U |
| 授权公告日 | 2020-06-23 |
| 分类号 | F16K11/20 |
| 分类 | 工程元件或部件;为产生和保持机器或设备的有效运行的一般措施;一般绝热; |
| 申请人名称 | 焦作博瑞克控制技术有限公司 |
| 申请人地址 | 河南省焦作市博爱县发展大道(东段)1688号焦作博瑞克控制技术有限公司 |
专利法律状态
2020-06-23
授权
状态信息
授权
摘要
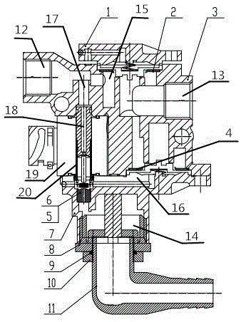
本实用新型公开了一种具有防水和三防功能的气压调节阀,包括阀体,阀体上设置有进气口、出气口、排气口,进气口与出气口之间的第一连通通道上设置有进气膜片;所述排气口设置在阀体底端,排气口与出气口之间的第二连通通道上设置有排气膜片;排气口与进气口之间的第三连通通道上设置有弹性阻推片,第三连通通道中部设置有换气腔体,换气腔体内设置有阻推片轨道,阻推片轨道内滑动连接弹性阻推片,弹性阻推片与第三连通通道之间通过弹性件相连接;第三连通通道与第二连通通道在排气口前端汇合且汇合处设置有进气铁芯、排气铁芯,进气铁芯与进气膜片电性连接,排气铁芯与排气膜片电性连接;排气口可拆卸连接有排气接头。


