授权公布号:CN211810427U
一种用于罐装奶粉生产中的夹取装置
有效
申请
2019-11-25
申请公布
1970-01-01
授权
2020-10-30
预估到期
2029-11-25
| 申请号 | CN201922049915.2 |
| 申请日 | 2019-11-25 |
| 授权公布号 | CN211810427U |
| 授权公告日 | 2020-10-30 |
| 分类号 | B65B35/16;B65B35/24 |
| 分类 | 输送;包装;贮存;搬运薄的或细丝状材料; |
| 申请人名称 | 伊犁那拉乳业集团有限公司 |
| 申请人地址 | 新疆维吾尔自治区伊犁哈萨克自治州巩留县库尔德宁镇政府以东2公里处 |
专利法律状态
2020-10-30
授权
状态信息
授权
摘要
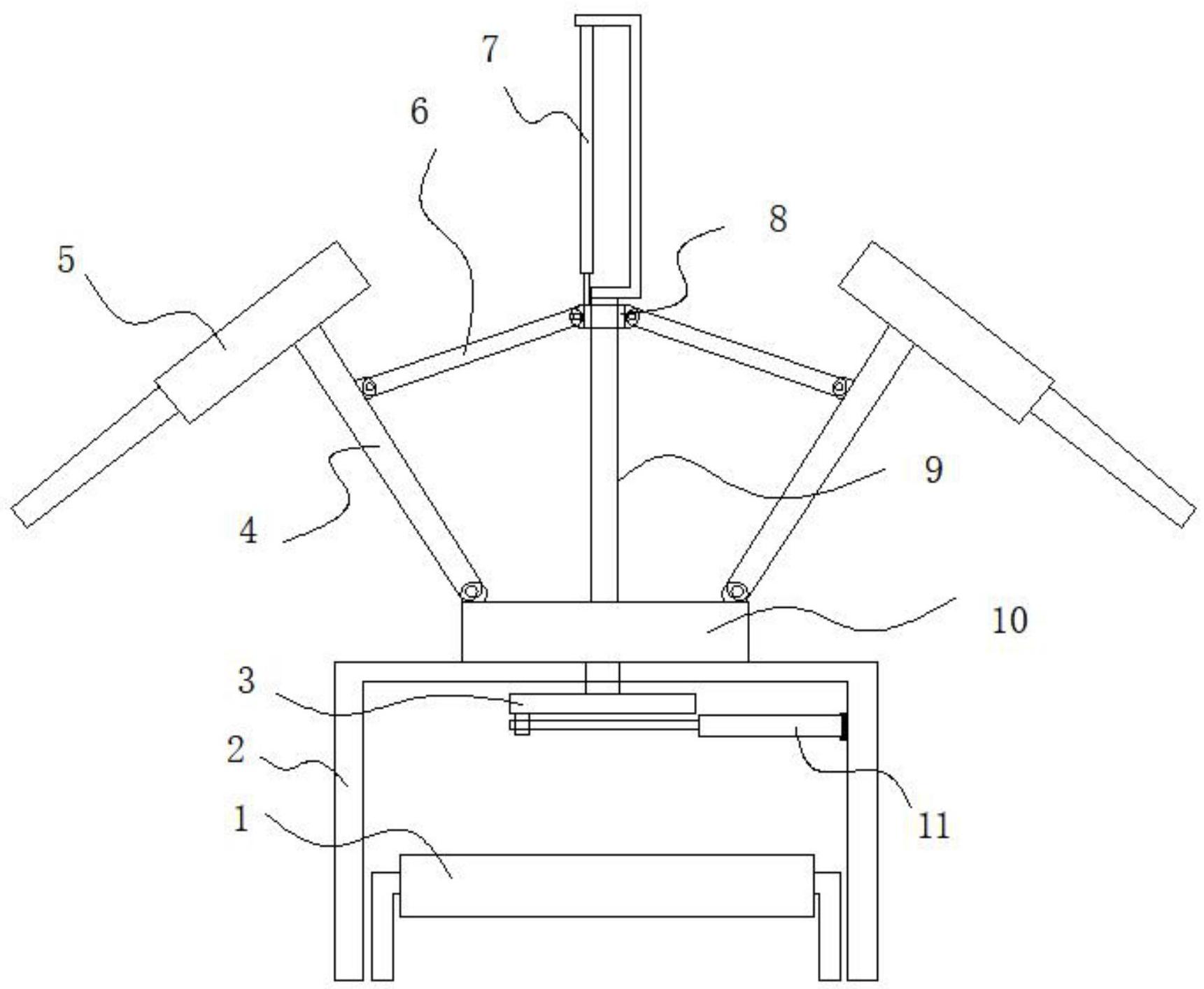
本实用新型属于奶粉加工领域,尤其是一种用于罐装奶粉生产中的夹取装置,现提出如下方案,其包括传送带和支撑架,所述传送带穿过支撑架的内壁底端,支撑架的顶端转动连接有转动座,转动座的底端通过转轴连接有位于支撑架内部的转动盘,转动盘的底端边缘处安装有连接块,支撑架的内壁上铰接有伸缩杆二,伸缩杆二的输出轴铰接有连接块,所述转动座的顶端中间位置安装有固定柱,固定柱的顶端通过支架安装有伸缩杆一,伸缩杆一的输出轴连接有滑动套接在固定柱外部的活动环上。本装置能够同时通过两个夹持机构实现对奶粉罐的夹持,夹持时由于是通过螺纹传动,能够实现自锁,不会由于停电等原因导致夹持物品松脱,稳定性好。


