授权公布号:CN215025751U
一种产后康复锻炼装置
有效
申请
2020-12-29
申请公布
1970-01-01
授权
2021-12-07
预估到期
2030-12-29
| 申请号 | CN202023268496.0 |
| 申请日 | 2020-12-29 |
| 授权公布号 | CN215025751U |
| 授权公告日 | 2021-12-07 |
| 分类号 | A63B23/12;A63B21/08;A63B21/055 |
| 分类 | 运动;游戏;娱乐活动; |
| 申请人名称 | 徐州三源医药科技集团有限公司 |
| 申请人地址 | 江苏省徐州市软件园路6号徐州软件园C4号楼9层901室 |
专利法律状态
2021-12-07
授权
状态信息
授权
摘要
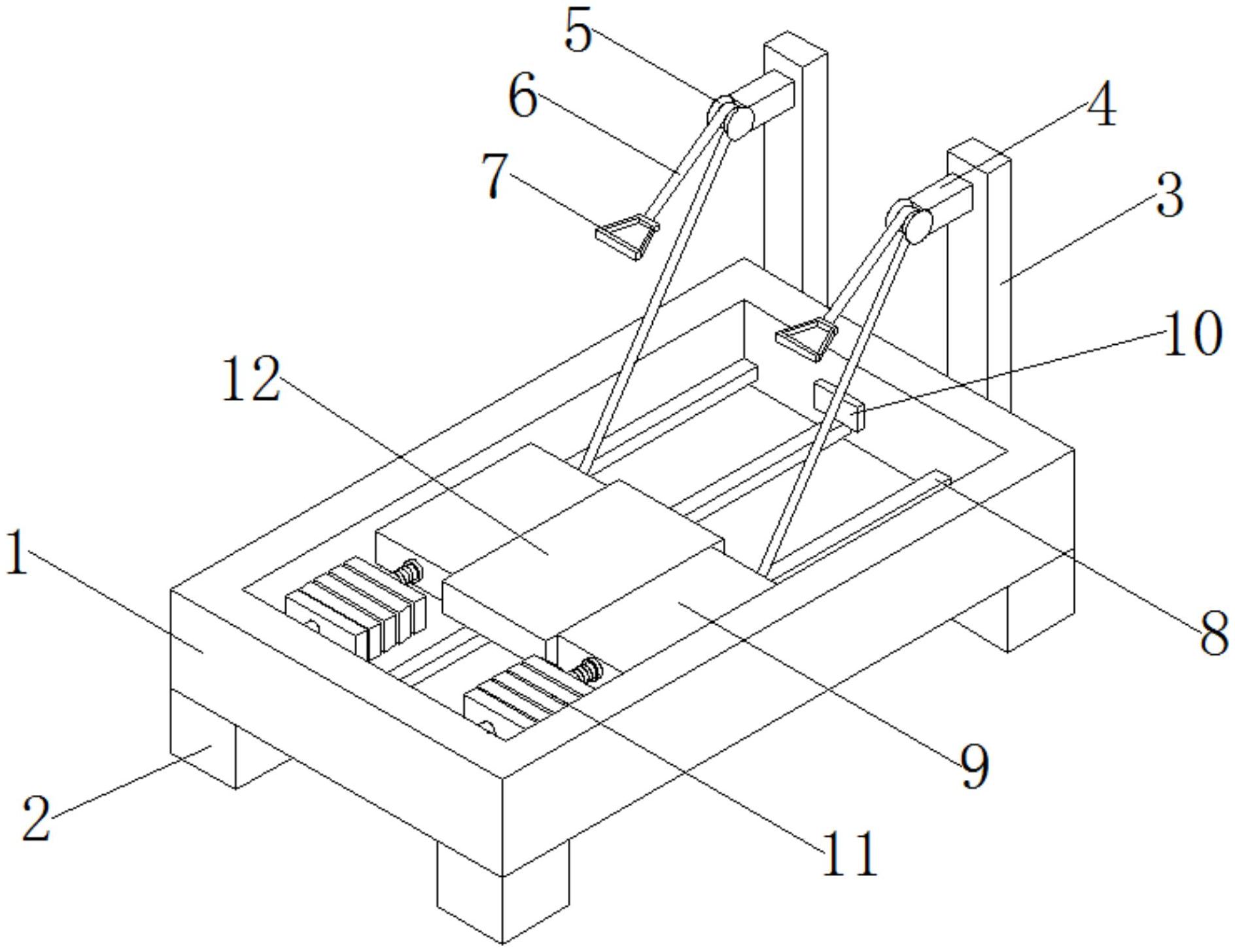
本实用新型涉及医疗技术设备技术领域,具体涉及一种产后康复锻炼装置,包括支撑台、支撑脚和支撑杆,支撑脚均固定连接在支撑台的下端,支撑台的右侧均固定连接有支撑杆,支撑杆的左侧上端均固定连接有连接杆,连接杆的左侧均固定连接有活动轮。本实用新型克服了现有技术的不足,通过设置有垫板、铅块和插销,使得产妇可以先选择自己想要增加的重量,选择好相应数量的铅块后,再将插销在铅块一侧的插孔二处插入,通过插孔二后再插入到插孔一内,当垫板在运动时会带动插好的铅块进行运动,从而使得产妇可以选择性的增加相应数量的铅块来增加自己要锻炼时的重量,本装置能满足更多锻炼产妇的加重需求,利于实际使用。


