授权公布号:CN217339276U
一种乳腺按摩治疗仪
有效
申请
2022-03-25
申请公布
1970-01-01
授权
2022-09-02
预估到期
2032-03-25
| 申请号 | CN202220658880.1 |
| 申请日 | 2022-03-25 |
| 授权公布号 | CN217339276U |
| 授权公告日 | 2022-09-02 |
| 分类号 | A61H7/00 |
| 分类 | 医学或兽医学;卫生学; |
| 申请人名称 | 徐州三源医药科技集团有限公司 |
| 申请人地址 | 江苏省徐州市泉山区软件园路6号徐州软件园C4号楼9层901室 |
专利法律状态
2022-09-02
授权
状态信息
授权
摘要
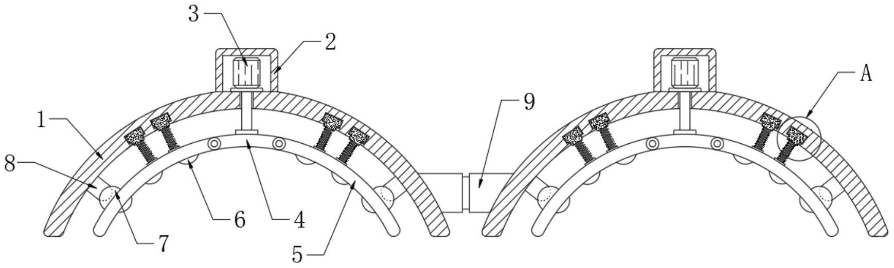
本实用新型公开了一种乳腺按摩治疗仪,包括两个第一壳体,所述第一壳体的顶部焊接有第二壳体,所述第二壳体的内部安装有电机,所述电机的输出轴贯穿第一壳体的顶部且焊接有转盘,所述转盘的外侧通过销轴均匀的转动连接有弧形板,所述弧形板的一侧均匀的一体成型有凸点,所述第一壳体的内侧壁均匀的焊接有挤压杆,可以通过电机输出轴的转动带动弧形板进行转动,从而通过挤压杆和受压球体使弧形板沿着销轴进行摆动,从而完成对人体的按摩工作,避免了传统装置只在表面进行摩擦的情况出现,使得对人体的按摩工作可以更加方便快捷的进行,同时使按摩的效果更加明显高效。


