授权公布号:CN114698795B
一种能够视觉检测的即食袋装鱼的加工设备及其加工方法
有效
申请
2022-03-18
申请公布
2022-07-05
授权
2023-11-21
预估到期
2042-03-18
| 申请号 | CN202210268487.6 |
| 申请日 | 2022-03-18 |
| 申请公布号 | CN114698795A |
| 申请公布日 | 2022-07-05 |
| 授权公布号 | CN114698795B |
| 授权公告日 | 2023-11-21 |
| 分类号 | B01F27/191;A23L17/00;A23L27/60;A23L5/10;A23P30/00;A22C25/04;B01F27/808;B01F33/70;B01F27/90 |
| 分类 | 其他类不包含的食品或食料;及其处理; |
| 申请人名称 | 福建乐隆隆食品科技有限公司 |
| 申请人地址 | 福建省泉州市晋江市经济开发区(五里园)英源路40号 |
专利法律状态
2023-11-21
授权
状态信息
授权
2022-07-22
实质审查的生效
状态信息
实质审查的生效;IPC(主分类):A23L17/00;申请日:20220318
2022-07-05
公布
状态信息
公布
摘要
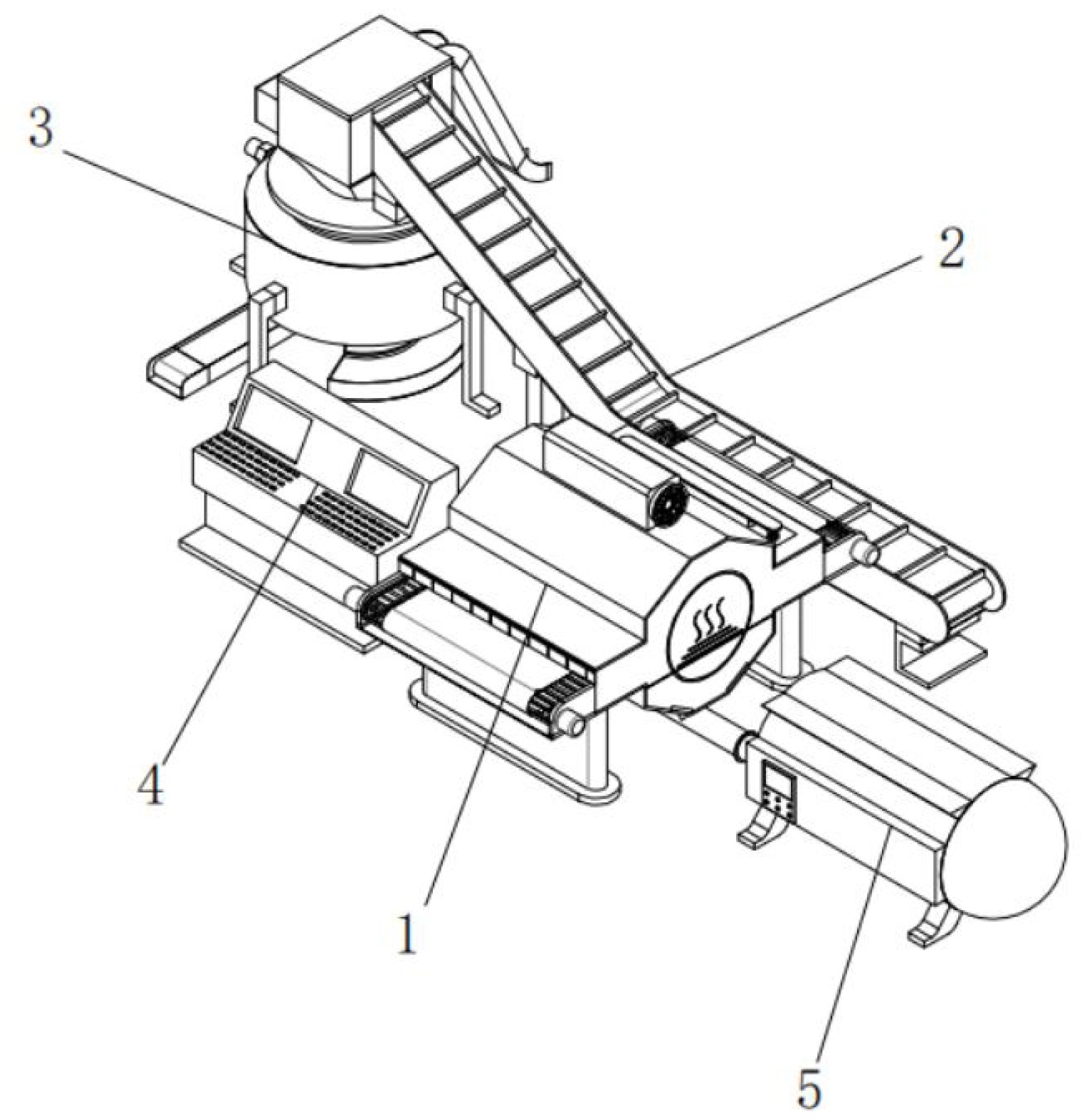
本发明公开了一种能够视觉检测的即食袋装鱼的加工设备及其加工方法,涉及食品自动化生产设备技术领域。一种能够视觉检测的即食袋装鱼的加工设备及其加工方法,包括熟蒸机构和控制台,熟蒸机构侧面固定连接有蒸汽锅炉,熟蒸机构背面安装有运输机构,运输机构另一端下方安装有混拌机构,混拌机构包括罐身。本发明依靠混拌机构密封塞和密封底塞的设置能够让混料区处于密封状态,并通过真空管对其进行抽真空操作,依靠负压的混料区通过注入管和吸入阀的设置对酱料进行抽吸,配合搅拌电机和搅拌铲板能够实现真空状态下对鱼身的腌制搅拌,真空环境中鱼身更加容易吸附酱料,提高腌制速度。


