授权公布号:CN216186326U
一种罐头密封排气装置
有效
申请
2021-11-05
申请公布
1970-01-01
授权
2022-04-05
预估到期
2031-11-05
| 申请号 | CN202122691833.5 |
| 申请日 | 2021-11-05 |
| 授权公布号 | CN216186326U |
| 授权公告日 | 2022-04-05 |
| 分类号 | B65B31/00;B65B59/00;B65B5/08 |
| 分类 | 输送;包装;贮存;搬运薄的或细丝状材料; |
| 申请人名称 | 福建乐隆隆食品科技有限公司 |
| 申请人地址 | 福建省泉州市晋江市经济开发区(五里园)英源路40号 |
专利法律状态
2022-04-05
授权
状态信息
授权
摘要
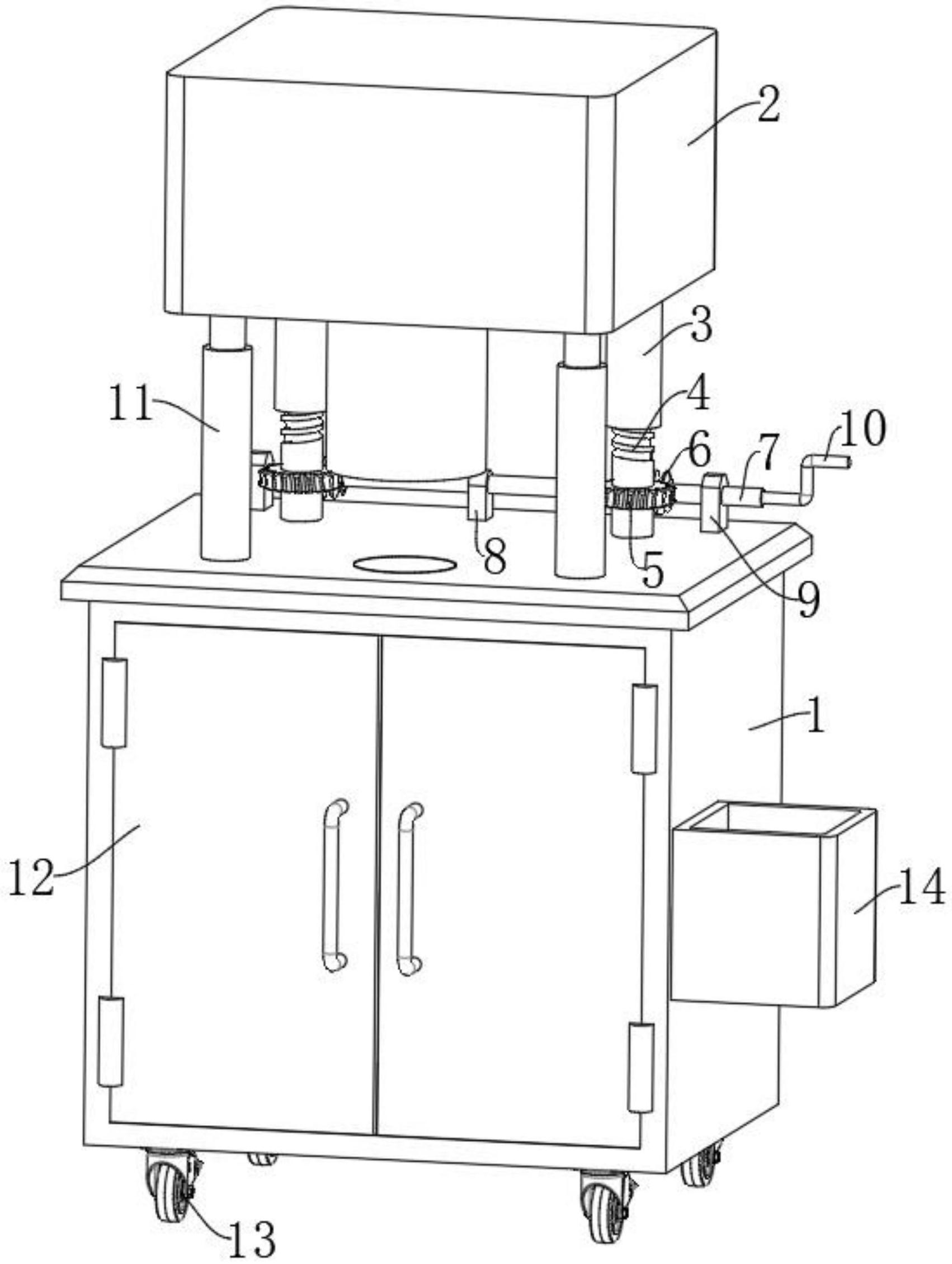
本实用新型提供一种罐头密封排气装置,属于罐头生产技术领域,该罐头密封排气装置包括工作台,工作台的上侧设有真空封罐设备;高度调节机构,高度调节机构包括转杆、第一空心块、两个螺纹筒、两个螺纹杆、两个蜗轮和两个蜗杆,两个螺纹杆的下端均转动连接于工作台的上端,两个螺纹筒分别螺纹连接于两个螺纹杆的圆周表面,高度调节机构可用于对真空封罐设备进行高度调节,使得真空封罐设备的下侧能接触到不同大小的罐头,从而实现对不同大小的罐头进行密封封罐,在需要灌装不同大小的罐头时,也不需额外购买其他灌装设备,降低了成本。


