授权公布号:CN209574214U
防满溢水杯
失效
申请
2018-10-08
申请公布
1970-01-01
授权
2019-11-05
预估到期
2028-10-08
| 申请号 | CN201821631312.2 |
| 申请日 | 2018-10-08 |
| 授权公布号 | CN209574214U |
| 授权公告日 | 2019-11-05 |
| 分类号 | A47G19/22 |
| 分类 | 家具;家庭用的物品或设备;咖啡磨;香料磨;一般吸尘器; |
| 申请人名称 | 恒福茶文化股份有限公司 |
| 申请人地址 | 广东省广州市天河区黄埔大道西76号富力盈隆广场23楼2303室 |
专利法律状态
2023-10-20
专利权的终止
状态信息
未缴年费专利权终止;IPC(主分类):A47G 19/22;专利号:ZL2018216313122;申请日:20181008;授权公告日:20191105;终止日期:
2019-11-05
授权
状态信息
授权
摘要
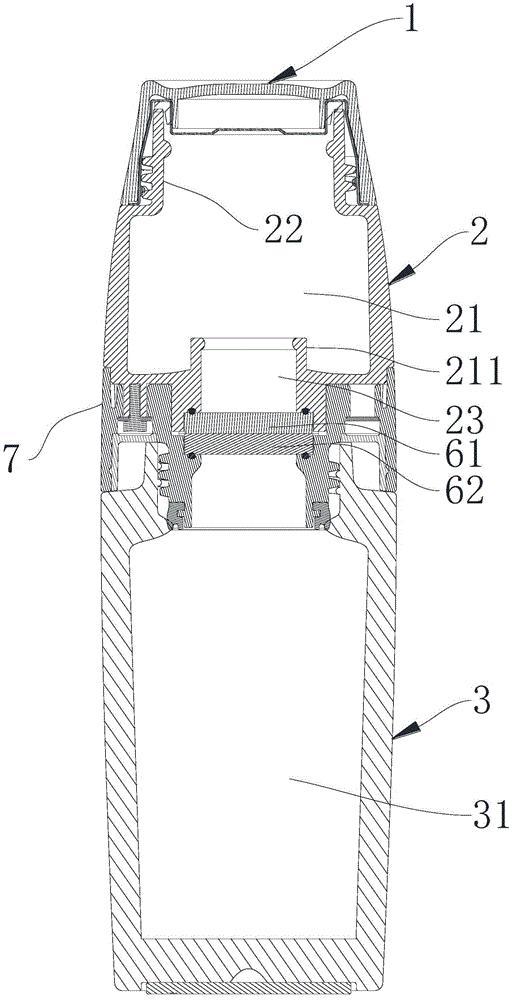
本实用新型公开了防满溢水杯,包括杯盖、上杯体和下杯体,杯盖连接于上杯体的上端,上杯体的下端与下杯体可拆卸地连接,上杯体具有上腔体,下杯体具有下腔体,上腔体用于存放干燥的冲泡物或者浸泡冲泡物,下腔体用于盛装热水,上杯体的上端设有喝水口,喝水口与上腔体连通,喝水口用于喝水,上腔体的底部开设有能够连通下腔体的热水道,热水道用于供下腔体盛装的热水流入上腔体,热水道连接有通断机构,通断机构用于控制热水道导通或封堵,上腔体的底部向上延伸形成有凸环。本防满溢水杯能够同时存蓄热水和干燥的冲泡物,在需要喝冲泡水的时候再进行泡冲泡物;并且,本防满溢水杯能够防止热水过满,从而避免热水溢出喝水口而烫伤人手。


