授权公布号:CN209629323U
一种防满溢水杯
失效
申请
2018-10-08
申请公布
1970-01-01
授权
2019-11-15
预估到期
2028-10-08
| 申请号 | CN201821631310.3 |
| 申请日 | 2018-10-08 |
| 授权公布号 | CN209629323U |
| 授权公告日 | 2019-11-15 |
| 分类号 | A47G19/22 |
| 分类 | 家具;家庭用的物品或设备;咖啡磨;香料磨;一般吸尘器; |
| 申请人名称 | 恒福茶文化股份有限公司 |
| 申请人地址 | 广东省广州市天河区黄埔大道西76号富力盈隆广场23楼2303室 |
专利法律状态
2023-10-20
专利权的终止
状态信息
未缴年费专利权终止;IPC(主分类):A47G 19/22;专利号:ZL2018216313103;申请日:20181008;授权公告日:20191115;终止日期:
2019-11-15
授权
状态信息
授权
摘要
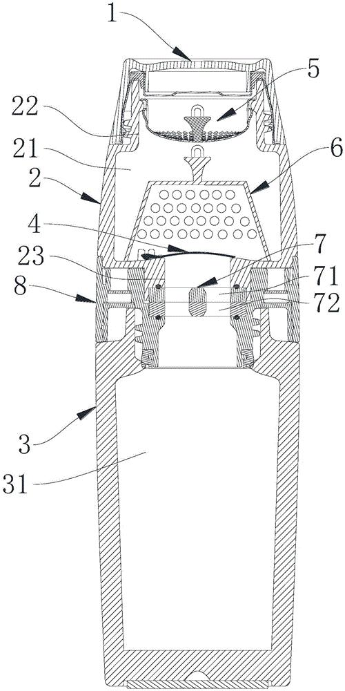
本实用新型公开了一种防满溢水杯,包括杯体,杯体内设置有上腔体和下腔体,上腔体的底部开设有能够连通下腔体的热水道,杯体内还设有封堵件,封堵件可转动地连接于上腔体内或热水道内,并能够封堵热水道。本防满溢水杯能够暂时存放外界的冲泡物和热水,并且能够防止热水过满而溢出来,从而避免了热水烫伤人手。


