授权公布号:CN209377237U
一种过滤茶杯
失效
申请
2018-08-31
申请公布
1970-01-01
授权
2019-09-13
预估到期
2028-08-31
| 申请号 | CN201821435302.1 |
| 申请日 | 2018-08-31 |
| 授权公布号 | CN209377237U |
| 授权公告日 | 2019-09-13 |
| 分类号 | A47G19/22 |
| 分类 | 家具;家庭用的物品或设备;咖啡磨;香料磨;一般吸尘器; |
| 申请人名称 | 恒福茶文化股份有限公司 |
| 申请人地址 | 广东省广州市天河区黄埔大道西76号富力盈隆广场23楼2303室 |
专利法律状态
2023-09-15
专利权的终止
状态信息
未缴年费专利权终止;IPC(主分类):A47G 19/22;专利号:ZL2018214353021;申请日:20180831;授权公告日:20190913;终止日期:
2019-09-13
授权
状态信息
授权
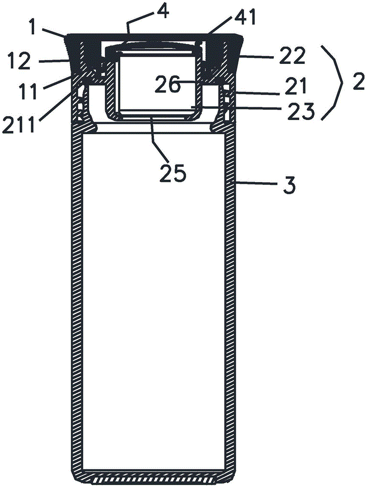
摘要
本实用新型公开一种过滤茶杯,包括杯盖、过滤组件和杯体,其特征在于:所述过滤组件包括过滤杯、上唇和位于上唇下方的边裙,所述过滤杯通过连接部悬空架设在所述边裙内,所述连接部上设有便于饮水的出水孔,所述过滤杯底部设置有过滤网,所述过滤杯上部设置有盖板,所述边裙固定在所述杯体上。本实用新型的目的在于提供一种过滤茶杯,饮用时不需取出过滤网即可饮用过滤后的茶水。


