授权公布号:CN214182668U
一种车用尿素溶液生产用节能装置
有效
申请
2020-10-23
申请公布
1970-01-01
授权
2021-09-14
预估到期
2030-10-23
| 申请号 | CN202022384091.7 |
| 申请日 | 2020-10-23 |
| 授权公布号 | CN214182668U |
| 授权公告日 | 2021-09-14 |
| 分类号 | B01F7/18;B01F15/00;B01F15/02;B01F15/06;F01N3/20 |
| 分类 | 一般的物理或化学的方法或装置; |
| 申请人名称 | 山东新蓝环保科技有限公司 |
| 申请人地址 | 山东省潍坊市高新区健康东街6888号蓝色智谷燕园科技园1603室 |
专利法律状态
2021-09-14
授权
状态信息
授权
摘要
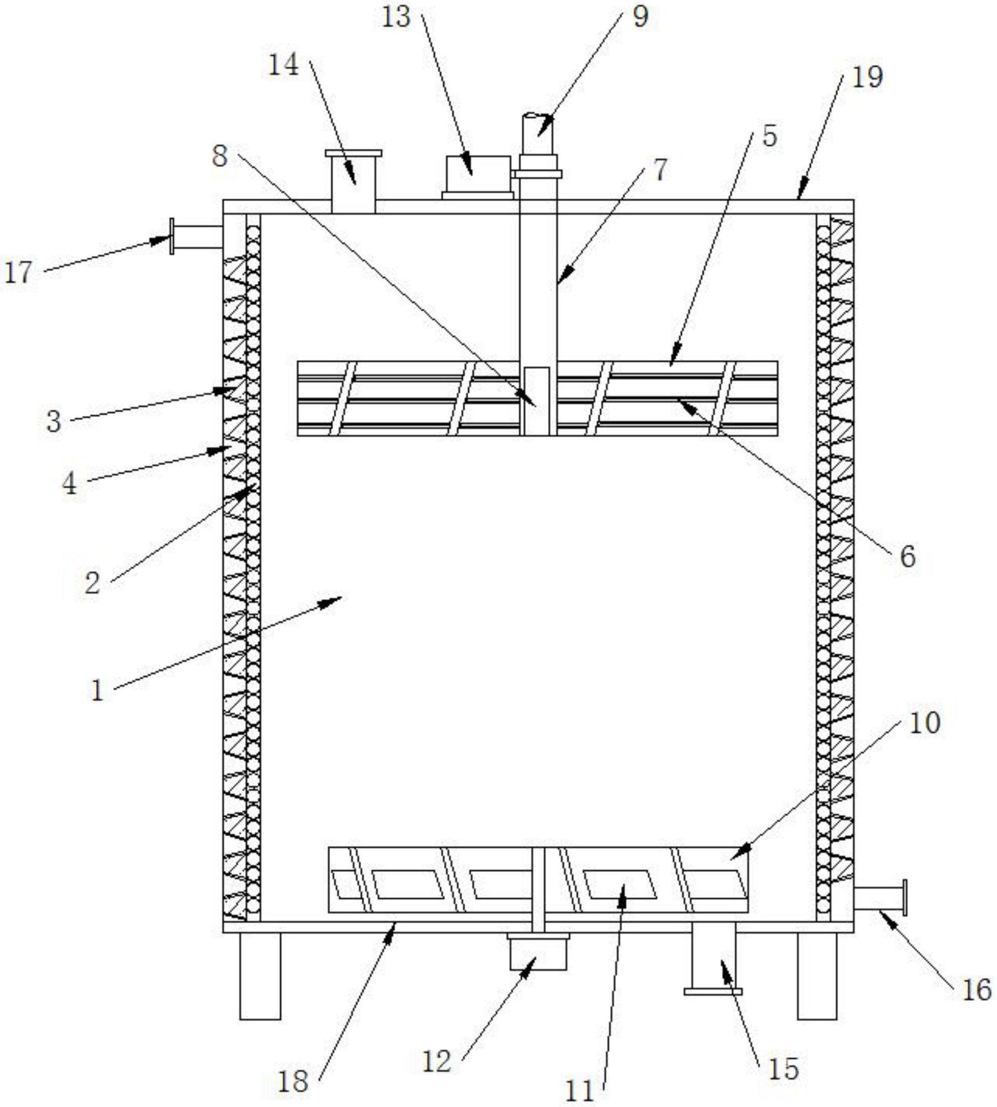
一种车用尿素溶液生产用节能装置,涉及尿素溶液生产用节能装置技术领域,包括混合筒,混合筒的下端口固接有底板,混合筒的筒壁由外向内设有依次保温夹层和加热夹层,加热夹层内盘绕有加热盘管,保温夹层内并列围设有若干个锥形撑拉筒体,锥形撑拉筒体的两端对应与保温夹层相固接,并通过相邻的锥形撑拉筒体之间的间隙形成紊流通道;缓和筒体内由上到下同轴并列转动安装有上搅拌组件和下搅拌组件,上搅拌组件上还设有尿素分散部件。本实用新型解决了传统技术中的装置,换热效率较低,无法保证对物料加热的稳定性,料物加热不均匀,物料散热较快;以及尿素无法充分溶解到水中,需长时间进行加工,增加了生产能耗的问题。


