授权公布号:CN211478057U
一种光波检测仪器
有效
申请
2020-02-24
申请公布
1970-01-01
授权
2020-09-11
预估到期
2030-02-24
| 申请号 | CN202020197825.8 |
| 申请日 | 2020-02-24 |
| 授权公布号 | CN211478057U |
| 授权公告日 | 2020-09-11 |
| 分类号 | G01N21/31 |
| 分类 | 测量;测试; |
| 申请人名称 | 山东新蓝环保科技有限公司 |
| 申请人地址 | 山东省潍坊市高新区健康东街6888号蓝色智谷燕园科技园1603室 |
专利法律状态
2021-10-29
专利权质押合同登记的生效、变更及注销
状态信息
专利权质押合同登记的生效;IPC(主分类):G01N21/31;登记号:Y2021980010531;登记生效日:20211011;出质人:山东新蓝环保科技有限公司;质权人:齐商银行股份有限公司潍坊分行;实用新型名称:一种光波检测仪器;申请日:20200224;授权公告日:20200911
2020-09-11
授权
状态信息
授权
摘要
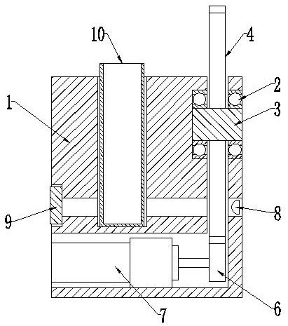
本实用新型公开了一种光波检测仪器,包括安装块,安装块的主体内部开设有拨轮安装孔,拨轮安装孔的两侧设有对称设置的轴承安装孔,拨轮安装孔的底部与电机安装孔相连通;安装块侧面轴承安装孔的正下方设有光源安装孔,光源安装孔与安装块主体内部设置的光路通孔同轴设置;安装块的上表面内开设有比色皿放置孔,比色皿放置孔与光路通孔相连通;安装块的一侧面设有一个方形结构的波长接收孔,波长接收孔通过光路通孔与比色皿放置孔相连通;所述拨轮安装孔内安装有拨轮;本实用新型提供的光波检测仪器,可以实现自动切换不同波长的光线,使物质的检测更加全面,提高检测仪器的检测效率;结构紧凑合理,集成化程度高。


