授权公布号:CN214167455U
一种净化水设备
有效
申请
2020-08-05
申请公布
1970-01-01
授权
2021-09-10
预估到期
2030-08-05
| 申请号 | CN202021603379.2 |
| 申请日 | 2020-08-05 |
| 授权公布号 | CN214167455U |
| 授权公告日 | 2021-09-10 |
| 分类号 | C02F1/68 |
| 分类 | 水、废水、污水或污泥的处理; |
| 申请人名称 | 成都市科创节能材料有限公司 |
| 申请人地址 | 四川省成都市金牛区育仁西路8号1栋7层702号 |
专利法律状态
2021-09-10
授权
状态信息
授权
摘要
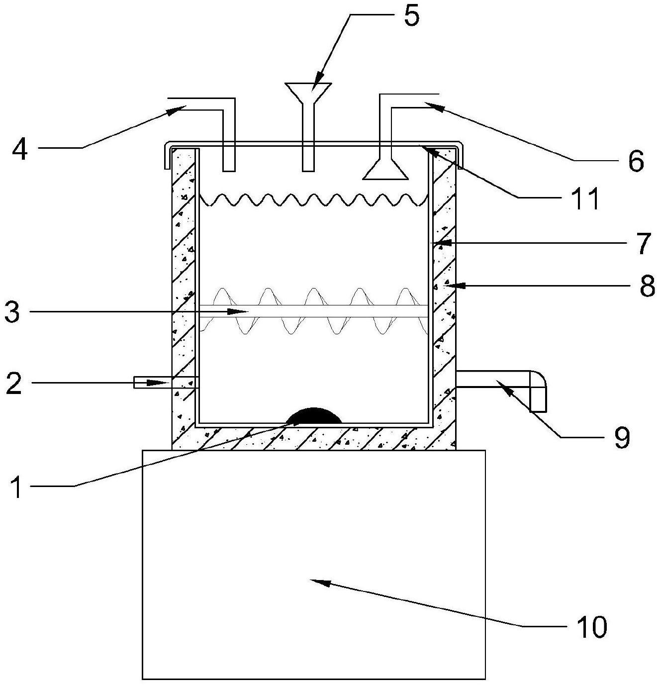
本实用新型公开了一种净化水设备,包括:输入管道、箱体、顶盖、加工模块、电源和出料管;所述输入管道包括设备水输入管道、纳米稀土金属离子输入管道和海藻糖输入管道;所述加工模块包括卧式分散叶桨和电磁振子;所述顶盖上设置有小孔,输入管道通过顶盖上的小孔连接到箱体中。本实用新型所制得的能量水含有大量对人体所需要的微量元素,同时含有海藻糖。


