授权公布号:CN102950749B
一种PP-R管材生产设备
有效
申请
2011-08-29
申请公布
2013-03-06
授权
2014-12-10
预估到期
2031-08-29
| 申请号 | CN201110251420.3 |
| 申请日 | 2011-08-29 |
| 申请公布号 | CN102950749A |
| 申请公布日 | 2013-03-06 |
| 授权公布号 | CN102950749B |
| 授权公告日 | 2014-12-10 |
| 分类号 | B29C47/20 |
| 分类 | 塑料的加工;一般处于塑性状态物质的加工; |
| 申请人名称 | 爱康企业集团(上海)有限公司 |
| 申请人地址 | 浙江省湖州市敢山路2528号 |
专利法律状态
2023-09-26
专利权人的姓名或者名称、地址的变更
状态信息
专利权人的姓名或者名称、地址的变更;IPC(主分类):B29C 47/20;专利号:ZL2011102514203;变更事项:专利权人;变更前:浙江爱康实业有限公司;变更后:爱康企业集团(浙江)有限公司;变更事项:地址;变更前:313000 浙江省湖州市敢山路2528号;变更后:313000 浙江省湖州市敢山路2528号
2023-05-02
专利申请权、专利权的转移
状态信息
专利权的转移;IPC(主分类):B29C47/20;登记生效日:20230419;变更事项:专利权人;变更前:爱康企业集团(上海)有限公司;变更后:浙江爱康实业有限公司;变更事项:地址;变更前:201314 上海市浦东新区新坦瓦公路828号;变更后:313000 浙江省湖州市敢山路2528号
2014-12-10
授权
状态信息
授权
2013-04-03
实质审查的生效
状态信息
实质审查的生效;IPC(主分类):B29C47/20;申请日:20110829
2013-03-06
公布
状态信息
公布
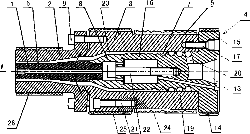
摘要
本发明公开的一种PP-R管材生产设备,包括挤出机和安装在挤出机上的机头以及安装在所述机头出口端的成型头,机头包括芯模、口模、调整座、芯模后体、外模后体、芯模座;芯模后体具有一法兰和一芯模段,芯模后体的芯模段成锥体状,插入外模后体的内孔中,其在芯模后体内设置有一入料口并在芯模后体的芯模段的外表面上设置有螺旋槽,螺旋槽的深度由头部向尾部逐渐变浅,螺旋槽的头部通过设置在芯模后体内的分料孔与入料口连通。本发明物料经过螺旋槽时,熔体流动从轴向到径向的双重方向改变,起到了良好的混合效果,有效消除了熔体的应力记忆性能。


