授权公布号:CN218462835U
一种PVC管件热流道注塑模具
有效
申请
2021-12-08
申请公布
1970-01-01
授权
2023-02-10
预估到期
2031-12-08
| 申请号 | CN202123074218.6 |
| 申请日 | 2021-12-08 |
| 授权公布号 | CN218462835U |
| 授权公告日 | 2023-02-10 |
| 分类号 | B29C45/27;B29C45/73;B29L23/00N;B29K27/06N |
| 分类 | 塑料的加工;一般处于塑性状态物质的加工; |
| 申请人名称 | 浙江中财管道科技股份有限公司 |
| 申请人地址 | 浙江省绍兴市新昌县新昌大道东路658号 |
专利法律状态
2023-02-10
授权
状态信息
授权
摘要
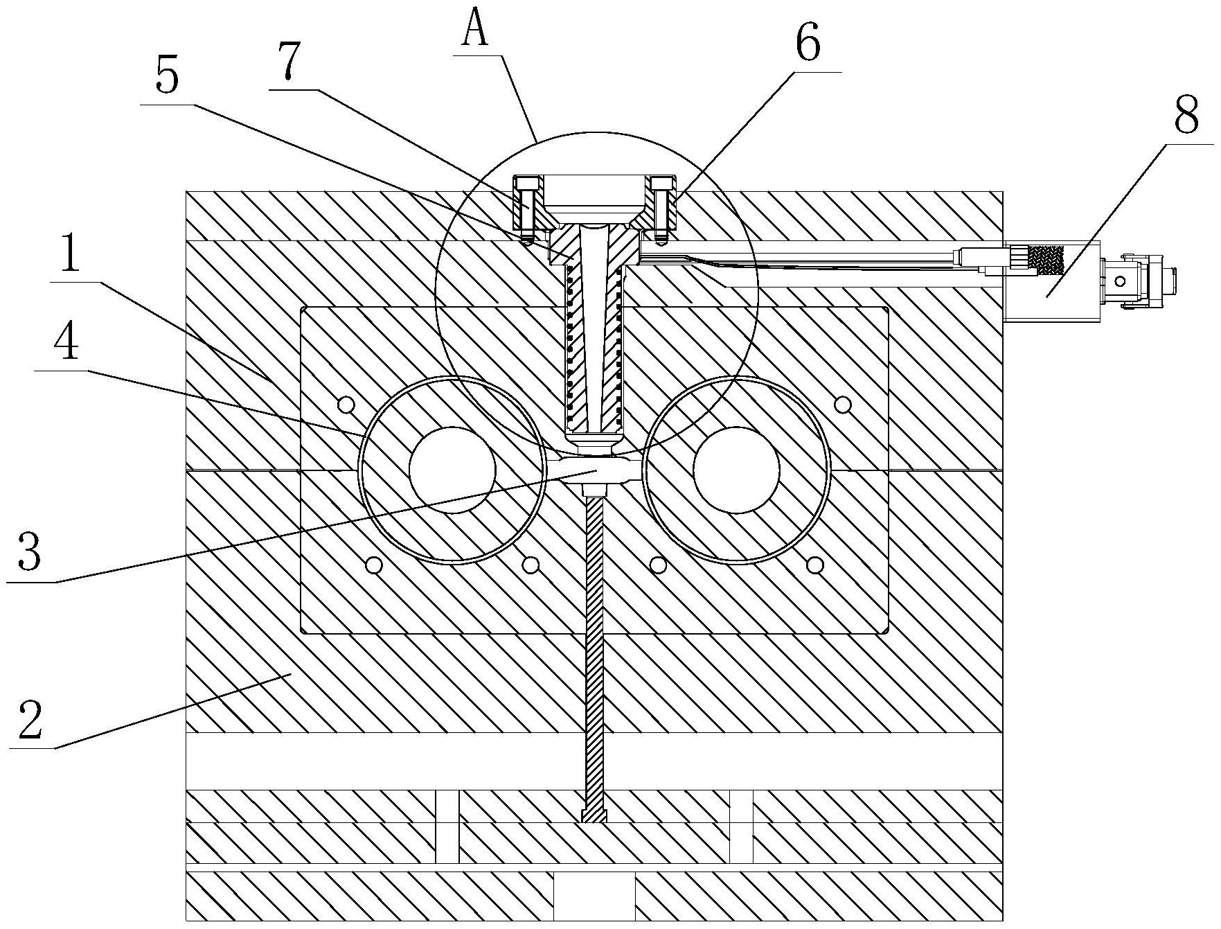
本实用新型公开了一种PVC管件热流道注塑模具,包括定模体和动模体,定模体和动模体之间设置有流道和成型腔,成型腔位于流道的两端并与流道连通,定模体上还设置有用于向流道中注入原料的热嘴,热嘴中间设置有中心通道,热嘴上设置有加热部件。本实用新型中在使用时,加热部件能够对热嘴进行加热,使得热嘴达到与原料相同的温度,这样当熔融状态的原料在从热嘴上的中心通道流过时,原料不会发生热量损失,原料的温度和流动性也不会发生下降,确保了原料在通过热嘴后仍能保持较高的流动性,从而降低了对注塑压力的要求,保证了原料不会因为流动性下降而无法填满整个成型腔,保证了产品的品质。


