授权公布号:CN213167694U
电池模组及车辆
有效
申请
2020-07-02
申请公布
1970-01-01
授权
2021-05-11
预估到期
2030-07-02
| 申请号 | CN202021290639.5 |
| 申请日 | 2020-07-02 |
| 授权公布号 | CN213167694U |
| 授权公告日 | 2021-05-11 |
| 分类号 | B60K1/04;B60L50/64;H01M50/249;H01M50/258;H01M50/262 |
| 分类 | 一般车辆; |
| 申请人名称 | 深圳市比亚迪锂电池有限公司 |
| 申请人地址 | 广东省深圳市龙岗区龙岗街道宝龙工业城宝荷路3001号 |
专利法律状态
2021-05-11
授权
状态信息
授权
摘要
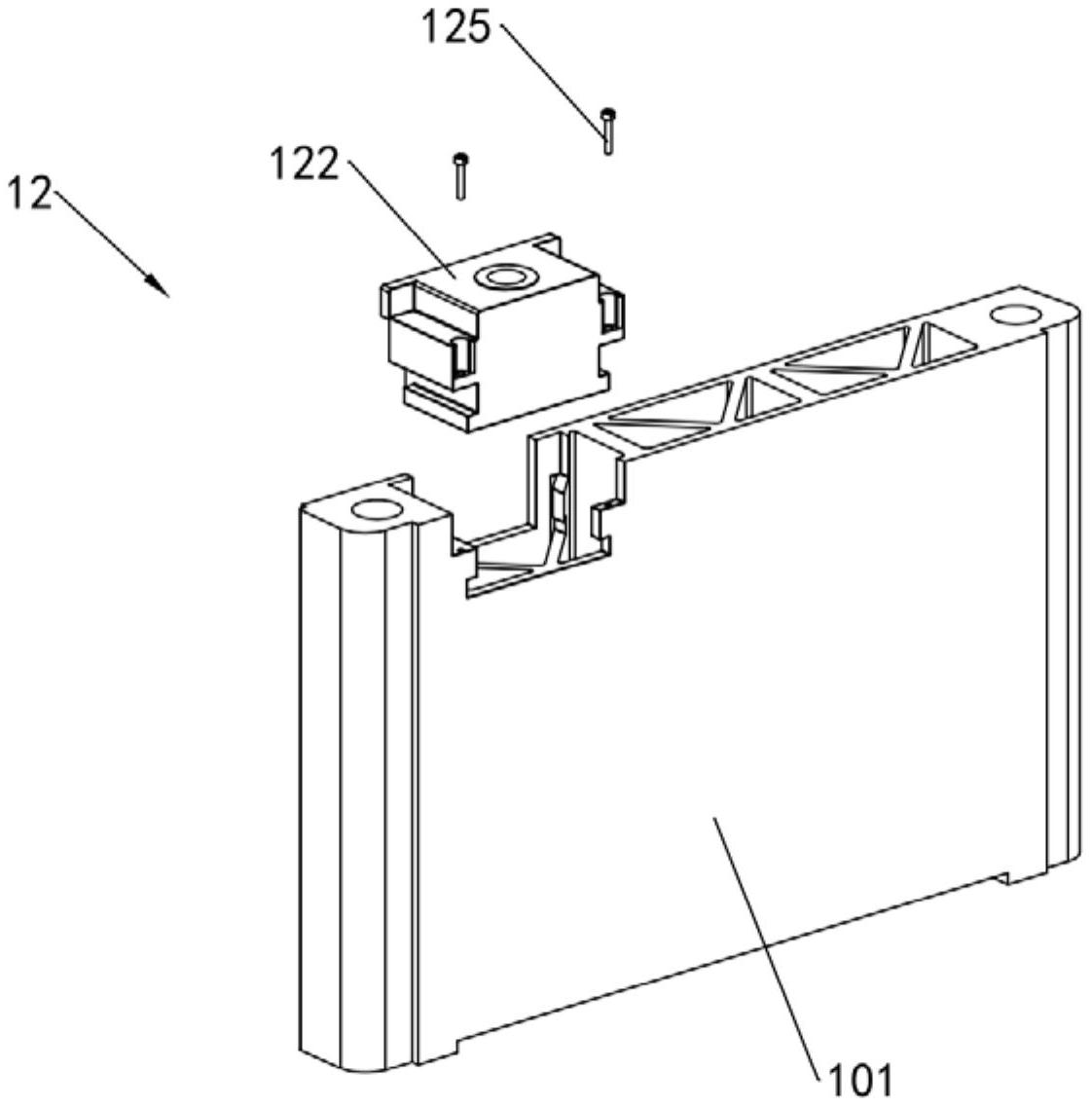
本申请公开了一种电池模组及包括此电池模组的车辆。电池模组包括电芯组及固定于电芯组侧边的端板,端板包括端板本体及可拆卸地连接于端板本体的引出支架,端板本体设有第一紧固孔,引出支架设有第二紧固孔,端板还包括紧固件,紧固件穿过第一紧固孔与第二紧固孔,以紧固引出支架与端板本体。本申请提供的端板中的引出支架通过紧固件与端板中的端板本体可拆卸连接,方便引出支架的拆卸,降低了引出支架返修和维修的困难。


