授权公布号:CN218032002U
一种排水立管三通配件
有效
申请
2022-06-27
申请公布
1970-01-01
授权
2022-12-13
预估到期
2032-06-27
| 申请号 | CN202221633818.3 |
| 申请日 | 2022-06-27 |
| 授权公布号 | CN218032002U |
| 授权公告日 | 2022-12-13 |
| 分类号 | F16L41/02 |
| 分类 | 工程元件或部件;为产生和保持机器或设备的有效运行的一般措施;一般绝热; |
| 申请人名称 | 浙江中财管道科技股份有限公司 |
| 申请人地址 | 新疆维吾尔自治区乌鲁木齐市经济技术开发区西流湖北路505号 |
专利法律状态
2023-10-27
专利申请权、专利权的转移
状态信息
专利权的转移;IPC(主分类):F16L 41/02;专利号:ZL2022216338183;登记生效日:20231012;变更事项:专利权人;变更前权利人:浙江中财管道科技股份有限公司;变更后权利人:新疆中财管道有限公司;变更事项:地址;变更前权利人:312500 浙江省绍兴市新昌县新昌大道东路658号;变更后权利人:830000 新疆维吾尔自治区乌鲁木齐市经济技术开发区西流湖北路505号
2022-12-13
授权
状态信息
授权
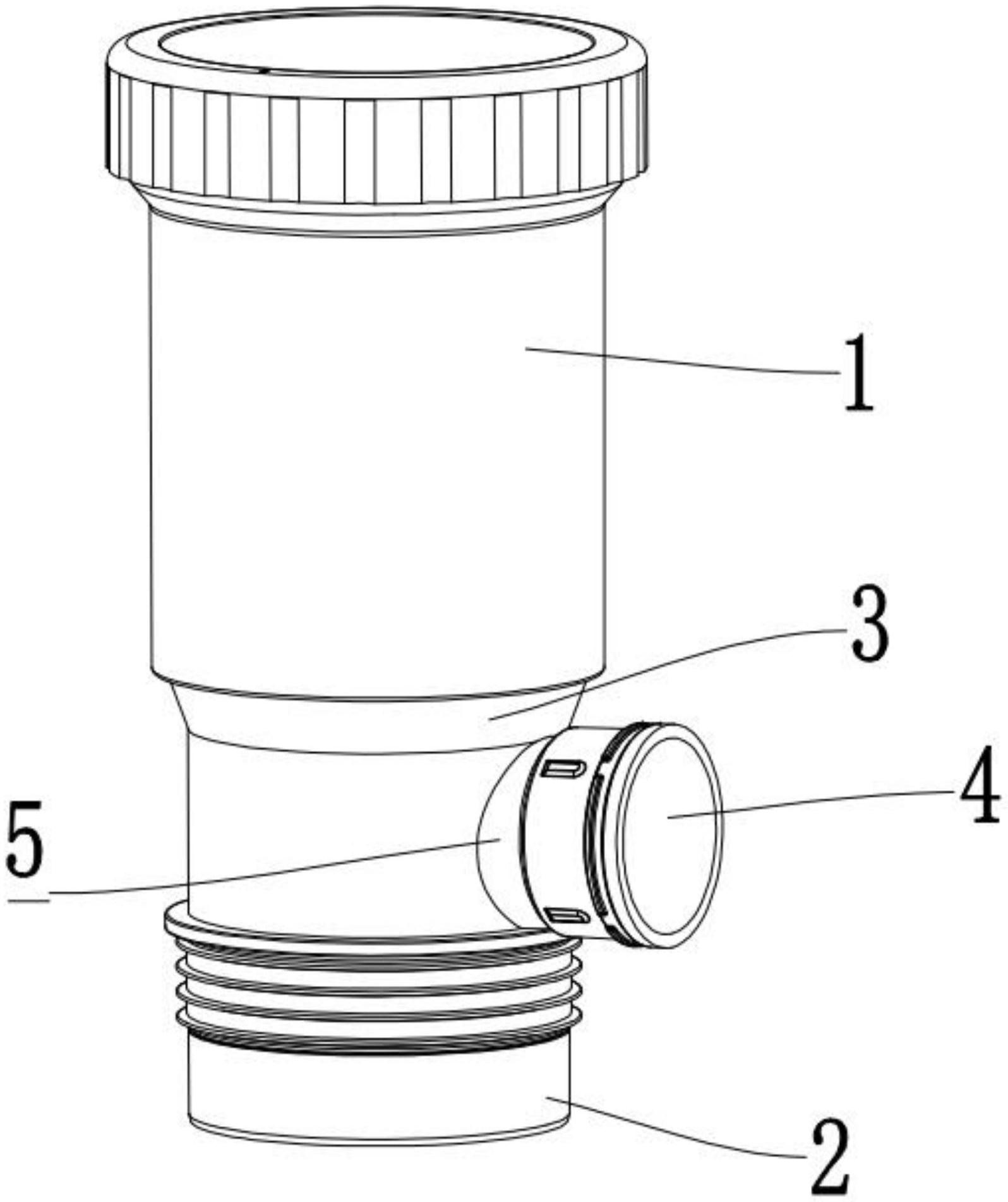
摘要
本实用新型公开了一种排水立管三通配件,包括:上接口,上接口连接过渡段,过渡段连接横管过渡段,横管过渡段下端连接下接口,横管过渡段侧端连接横管接入口。本实用新型的有益效果是:解决传统排水横支管占用柜子空间的问题,能实现不需要偏弯立管进行改造安装并且保证密封圈不脱落。


