授权公布号:CN108058398B
一种全自动化浴帘机
有效
申请
2017-12-13
申请公布
2018-05-22
授权
2023-11-14
预估到期
2037-12-13
| 申请号 | CN201711327166.4 |
| 申请日 | 2017-12-13 |
| 申请公布号 | CN108058398A |
| 申请公布日 | 2018-05-22 |
| 授权公布号 | CN108058398B |
| 授权公告日 | 2023-11-14 |
| 分类号 | B29C65/74;B29C65/78 |
| 分类 | 塑料的加工;一般处于塑性状态物质的加工; |
| 申请人名称 | 新乐华宝塑料制品有限公司 |
| 申请人地址 | 河北省石家庄市新乐市南环路210号 |
专利法律状态
2023-11-14
授权
状态信息
授权
2018-06-15
实质审查的生效
状态信息
实质审查的生效;IPC(主分类):B29C65/74;申请日:20171213
2018-05-22
公布
状态信息
公布
摘要
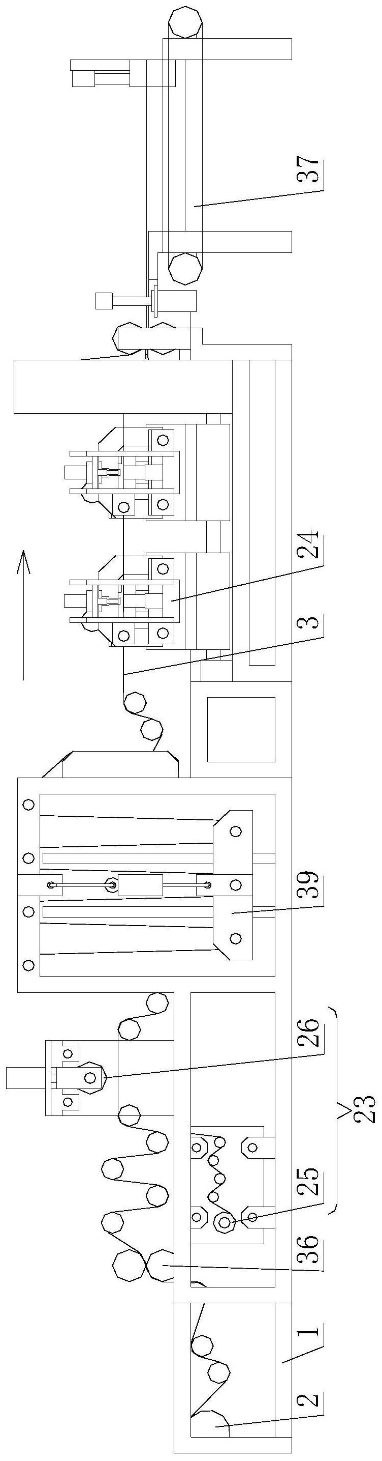
本发明公开了一种全自动化浴帘机,属于浴帘生产设备技术领域,由控制器控制,包括沿浴帘的输送方向依次设置在支撑架上的浴帘卷轴、第一输送对辊、浴帘磁扣热压机构、浴帘后序裁切机构,浴帘磁扣热压机构包括分别设置于支撑架上的带有热压槽的热压台,以及依次与热压槽配套工作的薄膜供给组件、磁扣供给组件和热压器,热压槽呈圆周阵列排布于热压台的上端面,热压器借助第三竖向伸缩装置设置于支撑架上,热压台借助旋转驱动装置设置于支撑架上并具有水平旋转的自由度,实现了浴帘的自动磁扣热压,磁扣热压安装完成后自动裁切,结构合理,占据空间小,易于操作,自动化程度高。


