授权公布号:CN209111349U
一种梳体暂存盒
有效
申请
2018-08-30
申请公布
1970-01-01
授权
2019-07-16
预估到期
2028-08-30
| 申请号 | CN201821417062.2 |
| 申请日 | 2018-08-30 |
| 授权公布号 | CN209111349U |
| 授权公告日 | 2019-07-16 |
| 分类号 | B29C41/20;B29C41/34 |
| 分类 | 塑料的加工;一般处于塑性状态物质的加工; |
| 申请人名称 | 宁波瑞孚工业集团有限公司 |
| 申请人地址 | 浙江省宁波市江北区洪塘长阳路188号3号楼2楼 |
专利法律状态
2019-07-16
授权
状态信息
授权
摘要
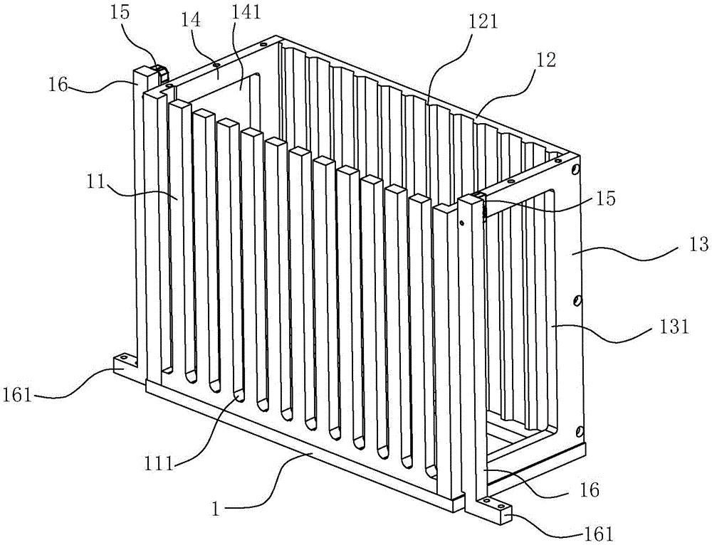
本实用新型涉及一种梳体暂存盒,包括盒体,其特征在于:所述盒体顶部敞开布置,所述盒体的第一侧壁上开设有自上而下延伸的供梳柄伸出的开口,该开口的上端敞开布置,所述盒体第二侧壁的内壁面上设有用于对梳体的头部进行限位的限位条,所述第二侧壁与第一侧壁相对布置,所述限位条在盒体的第二侧壁上竖向延伸并与开口相对应,所述梳体置于盒体中状态下,所述梳体头部的端口穿过限位条布置,所述梳体尾部的梳柄穿过开口伸出盒体外。本实用新型便于将梳体同向按顺序排放,便于自动夹爪完成自动夹取工作,有利于避免因方向错位而导致植针错位或出错,提高产品合格率及生产效率。


