授权公布号:CN105415655B
卷发器自动组装机的纱料输送与切断机构
有效
申请
2015-12-23
申请公布
2016-03-23
授权
2018-05-11
预估到期
2035-12-23
| 申请号 | CN201510983004.0 |
| 申请日 | 2015-12-23 |
| 申请公布号 | CN105415655A |
| 申请公布日 | 2016-03-23 |
| 授权公布号 | CN105415655B |
| 授权公告日 | 2018-05-11 |
| 分类号 | B29C53/80 |
| 分类 | 塑料的加工;一般处于塑性状态物质的加工; |
| 申请人名称 | 宁波瑞孚工业集团有限公司 |
| 申请人地址 | 浙江省宁波市江北区洪塘长阳路188号3号楼2楼 |
专利法律状态
2018-05-11
授权
状态信息
授权
2016-04-20
实质审查的生效
状态信息
实质审查的生效IPC(主分类):B29C 53/80申请日:20151223
2016-03-23
公布
状态信息
公开
摘要
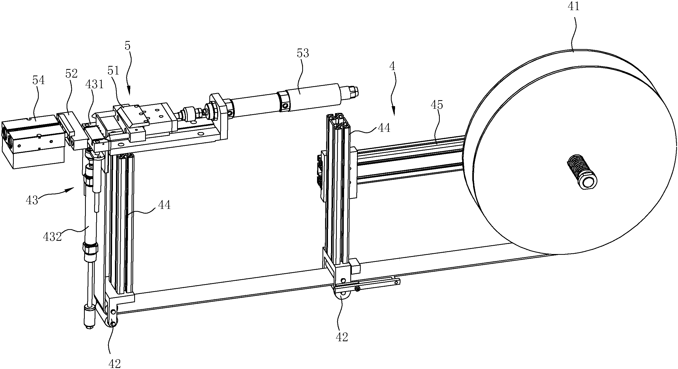
本发明涉及一种卷发器自动组装机的纱料输送与切断机构,纱料从输送机构的缠绕轮上通过辊轮组向外输出,当夹持件夹取纱料并向上运动时可将纱料向上拉动,而夹持件向下移动时不会将纱料带回,即当夹持件向下回复原位时,夹持件上方具有一段设定长度的纱料,此时,位于夹持件两侧的刀体与砧板相向运动,直至刀体与砧板将夹持件上方的纱料夹紧并切断,从而为卷发器的自动组装机提供一段可自由缠绕的纱料,便于其缠绕在筒体外周形成完整的卷发器,上述纱料输送与切断机构结构简单,由总程序同一控制,使用及操作方便,且大大提高了纱料剪切的速度及精度,避免了人工切断纱料使造成的长短不一、纱料浪费问题,在很大程度上提高了卷发器的生产效率。


