授权公布号:CN208826908U
一种梳针自动染头机的墨盒机构
有效
申请
2018-08-30
申请公布
1970-01-01
授权
2019-05-07
预估到期
2028-08-30
| 申请号 | CN201821415965.7 |
| 申请日 | 2018-08-30 |
| 授权公布号 | CN208826908U |
| 授权公告日 | 2019-05-07 |
| 分类号 | B29C41/34;B29L21/00N |
| 分类 | 塑料的加工;一般处于塑性状态物质的加工; |
| 申请人名称 | 宁波瑞孚工业集团有限公司 |
| 申请人地址 | 浙江省宁波市江北区洪塘长阳路188号3号楼2楼 |
专利法律状态
2019-05-07
授权
状态信息
授权
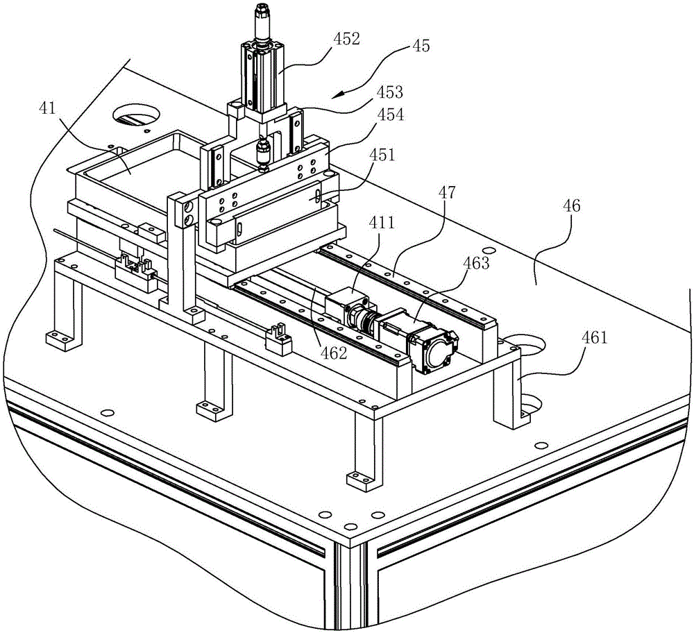
摘要
本实用新型涉及一种梳针自动染头机的墨盒机构,包括操作平台及墨盒,墨盒设于操作平台上,还包括头油刮平机构,头油刮平机构设于墨盘上方并具有能相对于墨盘长度方向来回移动从而将墨盘中的头油刮平的刮板,操作平台上设置有操作平台,操作平台上设置有沿墨盘长度方向布置的第二滑轨,墨盘能来回移动地设于该第二滑轨上,刮板支撑于第二滑轨两侧并位于墨盘上方,墨盘上方设置有能驱动刮板上下移动的第七气缸。墨盒与刮板之间通过相对移动从而将头油刮平,且是通过墨盒的主动移动来实现的,相比于刮板主动移动来说,墨盒主动移动有利于墨盒中的头油在移动过程中因晃动而发生一定的流动,有利于使头油更加均匀的分布,从而提高圆头的大小一致性。


