授权公布号:CN220661951U
一种夹心挤出成卷部件
有效
申请
2023-08-17
申请公布
1970-01-01
授权
2024-03-26
预估到期
2033-08-17
| 申请号 | CN202322208776.X |
| 申请日 | 2023-08-17 |
| 授权公布号 | CN220661951U |
| 授权公告日 | 2024-03-26 |
| 分类号 | B32B37/15;B65H18/08 |
| 分类 | 层状产品; |
| 申请人名称 | 烟台中宠食品股份有限公司 |
| 申请人地址 | 山东省烟台市莱山经济开发区蒲昌路8号 |
专利法律状态
2024-03-26
授权
状态信息
授权
摘要
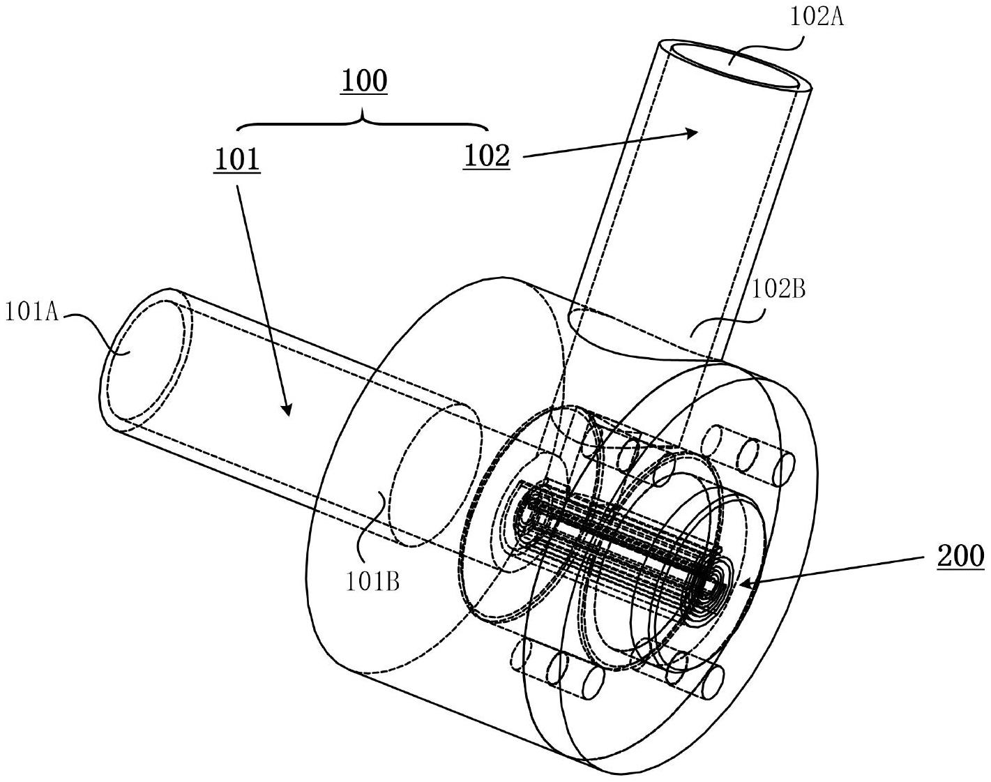
本实用新型公开了一种夹心挤出成卷部件,包括汇合料筒和挤出模具,其中,所述汇合料筒具有第一进料筒和第二进料筒,所述第一进料筒具有第一进料口和第一安装口,所述第二进料筒具有第二进料口和第二安装口;所述挤出模具中具有两条独立的、螺旋状延伸的流道,所述第一安装口与所述挤出模具的其中一条流道相连通,所述第二安装口与所述挤出模具的另一条流道相连通。由此,本实用新型在现有设备的基础上,设计出了全新的挤出模具的流道结构,通过挤出环节同时实现打卷和夹心。不需手动卷制,只需一次裁切,因为挤出后物料就是卷状,也无需捆绑固定;不仅降低了用工数量,还提升了生产效率。


