授权公布号:CN218808157U
一种带有锁扣的垃圾桶盖结构及其垃圾桶
有效
申请
2022-11-17
申请公布
1970-01-01
授权
2023-04-07
预估到期
2032-11-17
| 申请号 | CN202223053391.2 |
| 申请日 | 2022-11-17 |
| 授权公布号 | CN218808157U |
| 授权公告日 | 2023-04-07 |
| 分类号 | B65F1/16 |
| 分类 | 输送;包装;贮存;搬运薄的或细丝状材料; |
| 申请人名称 | 广东亿科智能家居科技有限公司 |
| 申请人地址 | 广东省江门市新会区大泽镇深江产业园大泽园区108号 |
专利法律状态
2023-04-07
授权
状态信息
授权
摘要
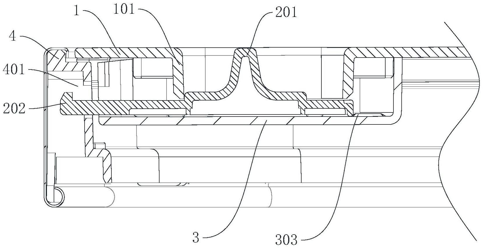
本实用新型公开了一种带有锁扣的垃圾桶盖结构,包括桶盖,桶盖的底部设有一可滑动的锁扣,使外来的冲击也很难直接作用于处于桶盖顶面的推拉部;锁扣具有第一勾部和推拉部,桶盖具有暴露推拉部的开口,桶身的上缘或口环设有用于被第一勾部扣住的扣部,或者设于桶口的装饰环的内卷边直接作为扣部;通过推拉推拉部以移动锁扣,使第一勾部扣住或脱离扣部,锁扣的解锁操作是在平行或基本平行于桶盖的方向上地推拉推拉部,与可能发生的外来冲击方向相去甚远,可保持高稳定的锁扣状态;同时公开了包含该垃圾桶盖结构的垃圾桶,推拉部位于最高的桶盖顶面,推拉操作又相较于按压操作复杂,不易被宠物或小孩子误开,具有较好的行为矫正作用。


