授权公布号:CN215997257U
一种蒸汽喷射泵喷淋装置的清堵装置
有效
申请
2021-09-17
申请公布
1970-01-01
授权
2022-03-11
预估到期
2031-09-17
| 申请号 | CN202122261094.6 |
| 申请日 | 2021-09-17 |
| 授权公布号 | CN215997257U |
| 授权公告日 | 2022-03-11 |
| 分类号 | B05B15/55 |
| 分类 | 一般喷射或雾化;对表面涂覆液体或其他流体的一般方法〔2〕; |
| 申请人名称 | 树业环保科技股份有限公司 |
| 申请人地址 | 广东省汕头市澄海区324国道盐鸿路段 |
专利法律状态
2022-03-11
授权
状态信息
授权
摘要
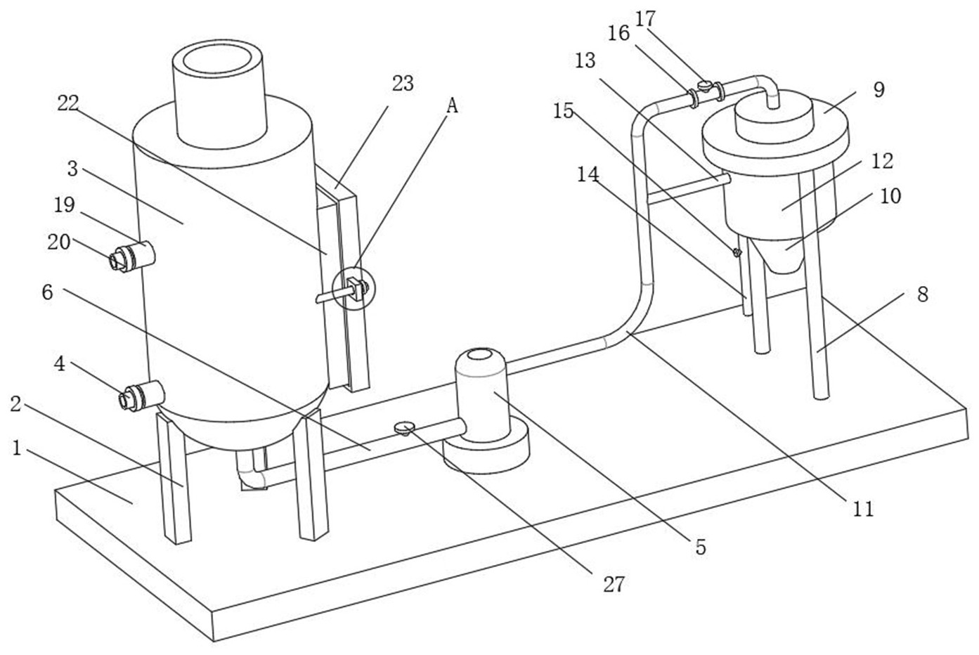
本实用新型涉及清堵设备技术领域,且公开了一种蒸汽喷射泵喷淋装置的清堵装置,包括底板,所述底板的顶面固定连接有支撑腿,所述支撑腿的顶面固定安装有乙二醇工艺塔,所述乙二醇工艺塔的内部设有高温热媒加热管。该蒸汽喷射泵喷淋装置的清堵装置,当喷射嘴堵塞时,关闭低温乙二醇阀门,开启高温乙二醇阀门,乙二醇工艺塔通过高温热媒加热乙二醇到堵塞物料的熔解温度,乙二醇通过第一段高温乙二醇导出管导出,配合高温乙二醇离心泵把乙二醇泵到喷射嘴,将堵塞物料融化,堵嘴清通后,关闭高温乙二醇阀门,开启低温乙二醇阀门,恢复正常生产,有效清理堵塞,且维修过程全程不停产。


