授权公布号:CN211594905U
一种薄膜辊筒升降架
有效
申请
2019-12-30
申请公布
1970-01-01
授权
2020-09-29
预估到期
2029-12-30
| 申请号 | CN201922435114.X |
| 申请日 | 2019-12-30 |
| 授权公布号 | CN211594905U |
| 授权公告日 | 2020-09-29 |
| 分类号 | B66F7/12;B66F7/28 |
| 分类 | 卷扬;提升;牵引; |
| 申请人名称 | 树业环保科技股份有限公司 |
| 申请人地址 | 广东省汕头市澄海区324国道盐鸿路段 |
专利法律状态
2024-01-02
著录事项变更
状态信息
著录事项变更;IPC(主分类):B66F7/12;专利申请号:201922435114X;变更事项:发明人;变更前:林树光 林建生 冯敏妍 林燕洁;变更后:林树光 林建生 冯敏妍 林燕洁 顾菁 单锐
2023-08-01
专利权质押合同登记的生效、变更及注销
状态信息
专利权质押合同登记的生效;IPC(主分类):B66F7/12;登记号:Y2023980048456;登记生效日:20230714;出质人:树业环保科技股份有限公司;质权人:广州信溪科技有限公司;实用新型名称:一种薄膜辊筒升降架;申请日:20191230;授权公告日:20200929
2020-09-29
授权
状态信息
授权
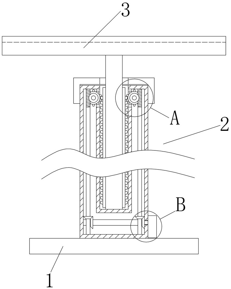
摘要
本实用新型涉及一种薄膜辊筒升降架。本实用新型的技术方案是:该升降架包括底座、升降机构和托架,升降机构固定在底座上,托架可活动连接于升降机构上;升降机构包括固定筒、内嵌筒、升杆、升轮和电机,固定筒的底部固定在底座上,内嵌筒嵌入在固定筒内,升杆配合于内嵌筒内且不与内嵌筒接触,升杆外表面设有升齿,升轮内嵌在固定筒与内嵌筒之间,升轮向内凸出一部分在内嵌筒内,升轮与升齿配合,电机驱动升轮,升杆的上端固定在托架的底部。本实用新型目的在于提供一种能在安装辊筒时保证辊筒的稳定性的薄膜辊筒升降架。


