授权公布号:CN212755284U
设有除垢装置的饮水机
有效
申请
2020-04-23
申请公布
1970-01-01
授权
2021-03-23
预估到期
2030-04-23
| 申请号 | CN202020624630.7 |
| 申请日 | 2020-04-23 |
| 授权公布号 | CN212755284U |
| 授权公告日 | 2021-03-23 |
| 分类号 | A47J31/00;A47J31/60 |
| 分类 | 家具;家庭用的物品或设备;咖啡磨;香料磨;一般吸尘器; |
| 申请人名称 | 南京骏诺电脑开水器制造有限公司 |
| 申请人地址 | 江苏省南京市溧水区东屏镇工业集中区 |
专利法律状态
2021-03-23
授权
状态信息
授权
摘要
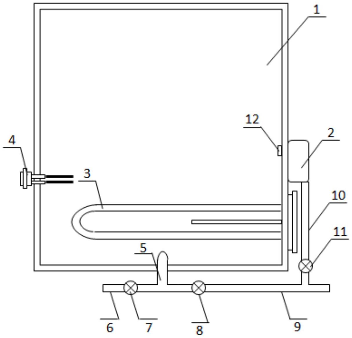
本实用新型公开了一种设有除垢装置的饮水机,包括水箱并在水箱底部设有组合进水管且水箱一侧侧部设有加药装置并在另一侧侧部设有液位计,水箱内底部设有加热管且加热管位于加药装置、液位计与水箱底部之间;加药装置设有伸入水箱内的出液管且加药装置顶部通过转轴与盖体连接,加药装置内通过隔板隔成混药区与进液区,混药区与出液管连通且进液区与加药进水支管连通。本实用新型在水箱侧部设有加药装置,加药装置通过隔板分为混药区与进液区,水体与除垢剂进行混合后,混合液对水箱底部、加热管表面的积垢进行清除。


