授权公布号:CN215290529U
地漏装置
有效
申请
2020-12-22
申请公布
1970-01-01
授权
2021-12-24
预估到期
2030-12-22
| 申请号 | CN202023118101.9 |
| 申请日 | 2020-12-22 |
| 授权公布号 | CN215290529U |
| 授权公告日 | 2021-12-24 |
| 分类号 | E03F5/04 |
| 分类 | 给水;排水; |
| 申请人名称 | 北京维石住工科技有限公司 |
| 申请人地址 | 北京市石景山区实兴大街30号院17号楼6层92号 |
专利法律状态
2021-12-24
授权
状态信息
授权
摘要
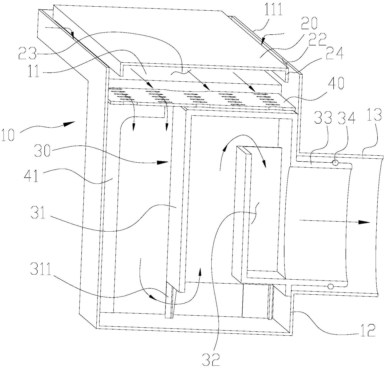
本实用新型公开了一种地漏装置,包括:地漏主体,其包括条状的导流盘以及形成于所述导流盘的下方的第一箱体,所述第一箱体的上端敞口,所述导流盘的侧边均形成有上翻边;导水部件,其设置于所述第一箱体中,所述导水部件具有排水管;盖体,其呈条状,所述盖体架设于所述导流盘上,所述盖体的侧边与所述导流盘的上翻边限定出过流空隙,并且所述盖体与所述导流盘之间限定出过流空间,以使得浴室整体底盘上的水依次经过所述过流空隙、所述过流空间而从所述第一箱体的上端口进入所述第一箱体中并经过所述导水部件而从所述排水管排出。


