授权公布号:CN215290528U
地漏及浴室地面
有效
申请
2020-12-22
申请公布
1970-01-01
授权
2021-12-24
预估到期
2030-12-22
| 申请号 | CN202023118023.2 |
| 申请日 | 2020-12-22 |
| 授权公布号 | CN215290528U |
| 授权公告日 | 2021-12-24 |
| 分类号 | E03F5/04;E04F15/02;E04F15/18 |
| 分类 | 给水;排水; |
| 申请人名称 | 北京维石住工科技有限公司 |
| 申请人地址 | 北京市石景山区实兴大街30号院17号楼6层92号 |
专利法律状态
2021-12-24
授权
状态信息
授权
摘要
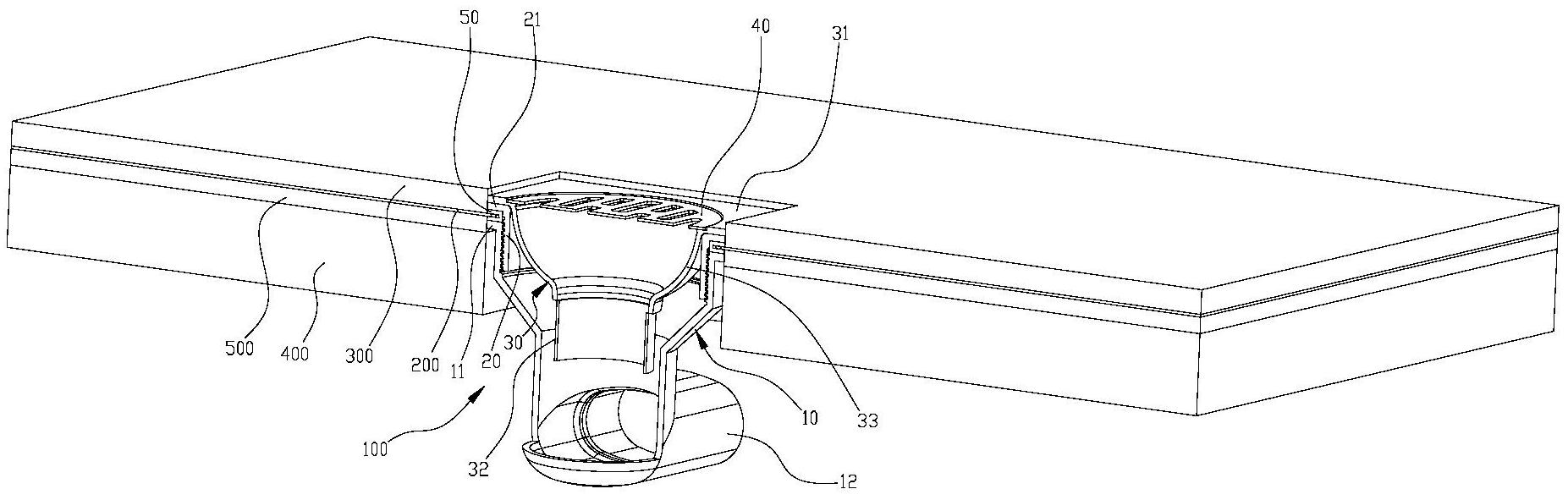
本实用新型公开了一种地漏及浴室地面,该地漏用于安装于浴室地面上,所述浴室地面包括板体的底盘,所述底盘上开设有安装孔;所述地漏包括:地漏主体,其位于所述底盘的下方,所述地漏的上端口的外侧形成有第一法兰;锁固套,与自所述地漏主体的上端口旋入所述地漏主体并与所述地漏主体形成螺纹连接,所述锁固套的上端形成有第二法兰,通过旋拧所述锁固套而使得所述第二法兰与所述第一法兰夹持所述安装孔的外围;导水部件,其包括具有镂空部的盘体以及形成于所述盘体的下方的内筒;所述内筒伸入至所述地漏主体中,所述盘体搭接与所述第二法兰上;地漏盖,其设置于所述盘体,并与所述盘体的镂空部相对,所述地漏盖上开设有过滤孔。


