授权公布号:CN213420270U
水管接头
有效
申请
2020-07-21
申请公布
1970-01-01
授权
2021-06-11
预估到期
2030-07-21
| 申请号 | CN202021448429.4 |
| 申请日 | 2020-07-21 |
| 授权公布号 | CN213420270U |
| 授权公告日 | 2021-06-11 |
| 分类号 | F16L47/04;F16L47/08;F16L47/12 |
| 分类 | 工程元件或部件;为产生和保持机器或设备的有效运行的一般措施;一般绝热; |
| 申请人名称 | 北京维石住工科技有限公司 |
| 申请人地址 | 北京市石景山区实兴大街30号院17号楼6层92号 |
专利法律状态
2021-06-11
授权
状态信息
授权
摘要
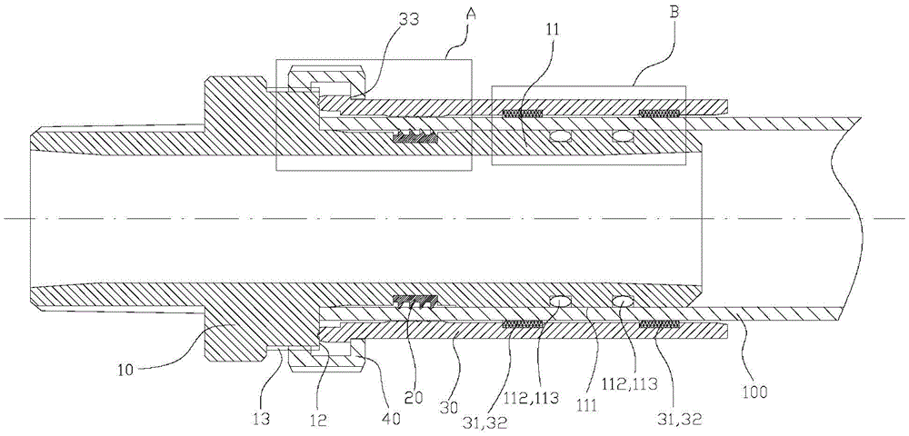
本实用新型公开了一种水管接头,包括:接头本体,其形成有管状的插接部,所述插接部的前侧的外周上加工出柱面,所述柱面上开设有两道环形安装槽,每道所述环形安装槽上均装设有密封圈;所述插接部的后侧开设有第一环形沉槽,所述第一环形沉槽上套设有外周面具有止退波纹的环体;所述环体具有豁口,所述环体借由其豁口的张合而套设于所述第一环形沉槽上;所述插接部用于插入塑料水管中;套状部件,其套设于所述插接部外,以用于包覆于所述塑料水管。止退波纹并未直接形成在插接部的外周面上,而是形成在环体上,因而,加工接头本体的报废率大大降低。


