授权公布号:CN219010634U
可自动化缝制圆形轨迹的缝纫装置
有效
申请
2022-12-28
申请公布
1970-01-01
授权
2023-05-12
预估到期
2032-12-28
| 申请号 | CN202223548799.7 |
| 申请日 | 2022-12-28 |
| 授权公布号 | CN219010634U |
| 授权公告日 | 2023-05-12 |
| 分类号 | D05B21/00 |
| 分类 | 缝纫;绣花;簇绒; |
| 申请人名称 | 浙江圣雪休闲用品有限公司 |
| 申请人地址 | 浙江省金华市武义县白洋街道沈宅村 |
专利法律状态
2023-05-12
授权
状态信息
授权
摘要
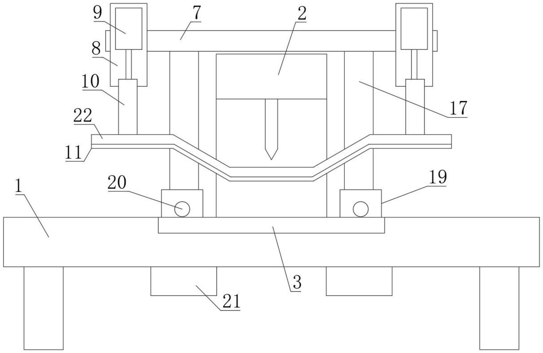
本实用新型公开了可自动化缝制圆形轨迹的缝纫装置,它包括机架(1)、缝纫机头(2)和走布板(3),所述机架(1)上安装有旋转电机(4),旋转电机(4)上安装有联动横杆(5);联动横杆(5)端部的顶面上垂直安装有联动竖杆(6),联动竖杆(6)的顶面上安装有联动件(7);联动件(7)的两端部均设置有安装座(8),每个安装座(8)上均设置有升降气缸(9);每个升降气缸(9)上均安装有倾斜状的支杆(10),两个支杆(10)之间设置有缝纫压板(11);缝纫压板(11)的中部设有圆孔(12)。本实用新型不仅能够提高工作效率,还具有缝纫效果好、使用方便、使用寿命长、结构稳定性高和使用安全性高的优点。


