授权公布号:CN213110195U
一种叉车用土工布卷转运工具
有效
申请
2020-07-06
申请公布
1970-01-01
授权
2021-05-04
预估到期
2030-07-06
| 申请号 | CN202021298083.4 |
| 申请日 | 2020-07-06 |
| 授权公布号 | CN213110195U |
| 授权公告日 | 2021-05-04 |
| 分类号 | B65D19/22;B65D19/44 |
| 分类 | 输送;包装;贮存;搬运薄的或细丝状材料; |
| 申请人名称 | 山东恒阳新材料有限公司 |
| 申请人地址 | 山东省德州市陵城区北环西路中段路北 |
专利法律状态
2021-05-04
授权
状态信息
授权
摘要
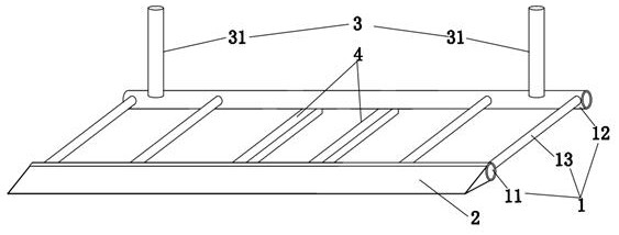
本实用新型属于土工布生产技术领域,特别涉及一种叉车用土工布卷转运工具,包括承载底板,所述承载底板用于承载布卷,所述承载底板包括前横杆以及后横杆,所述前横杆与后横杆之间设有若干个平行设置的连接杆,插入部固定在前横杆上,插入部呈三角状,可便于插入布卷的底部,阻挡部固定在后横杆,阻挡部为至少两个竖直设置的对称立杆,所述前横杆与后横杆之间设有对称设置的空心方管,所述空心方管形成货叉孔,本实用新型提供一种叉车用土工布卷转运工具,可配合叉车使用,可大大提高运力,减少人工使用,提高工作效率,降低劳动强度。


