授权公布号:CN213771155U
一种维修汽车底盘的提升装置
有效
申请
2020-11-16
申请公布
1970-01-01
授权
2021-07-23
预估到期
2030-11-16
| 申请号 | CN202022648551.2 |
| 申请日 | 2020-11-16 |
| 授权公布号 | CN213771155U |
| 授权公告日 | 2021-07-23 |
| 分类号 | B66F7/00;B66F7/28 |
| 分类 | 卷扬;提升;牵引; |
| 申请人名称 | 广州华胜企业管理服务有限公司 |
| 申请人地址 | 广东省广州市天河区荷光路190号之一101房 |
专利法律状态
2021-07-23
授权
状态信息
授权
摘要
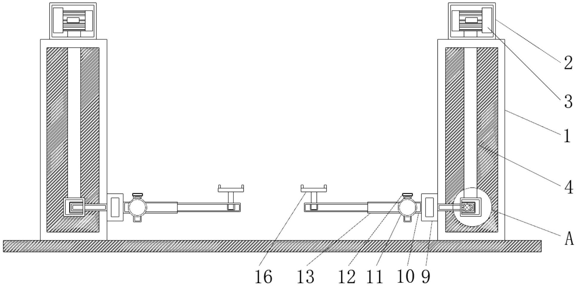
本实用新型公开了一种维修汽车底盘的提升装置,包括提升装置本体,所述提升装置本体的顶端固定连接有液压箱,且液压箱的内部设置有液压缸,所述液压缸的输出端配合连接有液压杆,且液压杆的底端配合连接有第一连接块,所述第一连接块的左侧表面开设有第一卡槽,且第一卡槽的内部配合连接有第一卡块,所述第一卡块的左侧配合连接有固定板,且固定板的左侧配合连接有第二连接块,所述第二连接块的左侧配合连接有转轴,且转轴的左侧配合连接有伸缩杆。本实用新型通过设置有第一卡块和第一固定块,在提升装置本体的使用过程中,通过设置的第一卡块卡合在第一连接块的内部,在通过设置的第一固定块进行固定,提高了装置的稳定性。


