授权公布号:CN214273880U
一种汽车维修保养使用的充气泵
有效
申请
2020-11-16
申请公布
1970-01-01
授权
2021-09-24
预估到期
2030-11-16
| 申请号 | CN202022648479.3 |
| 申请日 | 2020-11-16 |
| 授权公布号 | CN214273880U |
| 授权公告日 | 2021-09-24 |
| 分类号 | F04B35/04;F04B39/00;F04B39/12;F04B39/16;H02K5/20;H02K5/10 |
| 分类 | 液体变容式机械;液体泵或弹性流体泵; |
| 申请人名称 | 广州华胜企业管理服务有限公司 |
| 申请人地址 | 广东省广州市天河区荷光路190号之一101房 |
专利法律状态
2021-09-24
授权
状态信息
授权
摘要
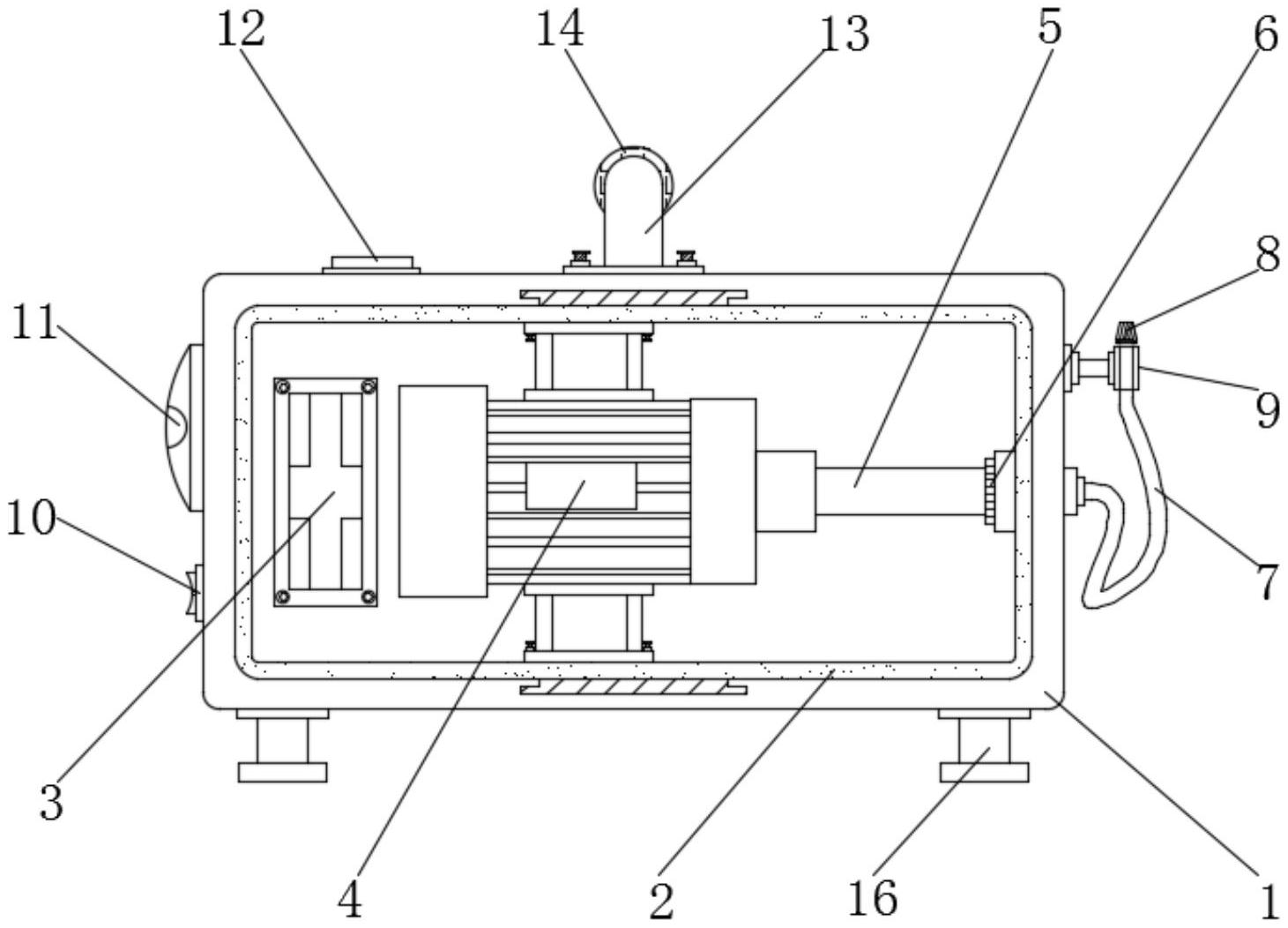
本实用新型公开了一种汽车维修保养使用的充气泵,包括壳体、气管、控制开关和散热机构,所述壳体的内侧设置有隔音垫,且壳体的内部设置有主机电板,所述主机电板的右方设置有电机,且电机的右方设置有通风璧管,所述通风璧管的右方设置有内垫,所述气管设置在壳体的右方,且气管的上方设置有充气嘴,所述充气嘴的左方设置有固定卡扣。本实用新型通过在装置中安装有散热机构,这样可以通过通风口利用空气的流动性,将电机运转所产生的热量进行消散,避免电机在高温的环境下运行,造成损坏,同时过滤网可以将空气中的灰尘污渍进行过滤处理,避免进入到该装置内部,对内部零件造成损坏,提高该装置的使用寿命,降低维护成本。


