授权公布号:CN214746007U
一种便于稳定升温的取暖器
有效
申请
2021-06-07
申请公布
1970-01-01
授权
2021-11-16
预估到期
2031-06-07
| 申请号 | CN202121255967.6 |
| 申请日 | 2021-06-07 |
| 授权公布号 | CN214746007U |
| 授权公告日 | 2021-11-16 |
| 分类号 | F24D13/00;F24D19/06;F24H3/04;F24H9/00;F24H9/18;F24H9/02 |
| 分类 | 供热;炉灶;通风; |
| 申请人名称 | 上海森中电器有限公司 |
| 申请人地址 | 上海市松江区叶榭镇浦亭路51号 |
专利法律状态
2021-11-16
授权
状态信息
授权
摘要
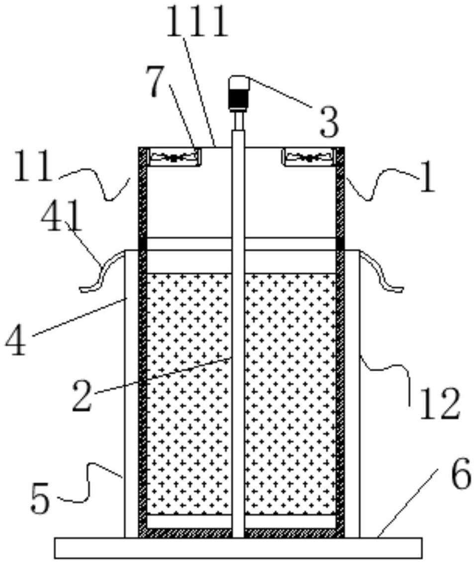
本实用新型适用于取暖技术领域,提供了一种便于稳定升温的取暖器,包括:壳体,其内部具有第一腔室和螺纹连接在所述第一腔室下方的第二腔室,所述第一腔室和所述第二腔室相连通;中杆,其设置于所述壳体内部中心位置,所述中杆顶部贯穿所述壳体上表面;加热组件,其通过连接杆固定连接有所述中杆侧壁上;隔温材料,其设置于所述第二腔室外壁上,用于阻隔所述加热组件的加热温度,所述中杆顶部固定连接有电机的输出端,所述隔温材料顶部设有至少一根系带,用于对固定所述隔温材料,所述加热组件包括多个设置于圆柱形的所述壳体内且呈环形设置的圆弧状加热片,解决了暖风机能耗较高,安全性低,且直吹的热风容易使人感到不适的问题。


