授权公布号:CN217178824U
一种带有良好防水结构的空气净化器
有效
申请
2022-03-20
申请公布
1970-01-01
授权
2022-08-12
预估到期
2032-03-20
| 申请号 | CN202220603936.3 |
| 申请日 | 2022-03-20 |
| 授权公布号 | CN217178824U |
| 授权公告日 | 2022-08-12 |
| 分类号 | F24F8/108;F24F8/90;F24F13/28;F24F13/20 |
| 分类 | 供热;炉灶;通风; |
| 申请人名称 | 上海森中电器有限公司 |
| 申请人地址 | 上海市松江区叶榭镇浦亭路51号 |
专利法律状态
2022-08-12
授权
状态信息
授权
摘要
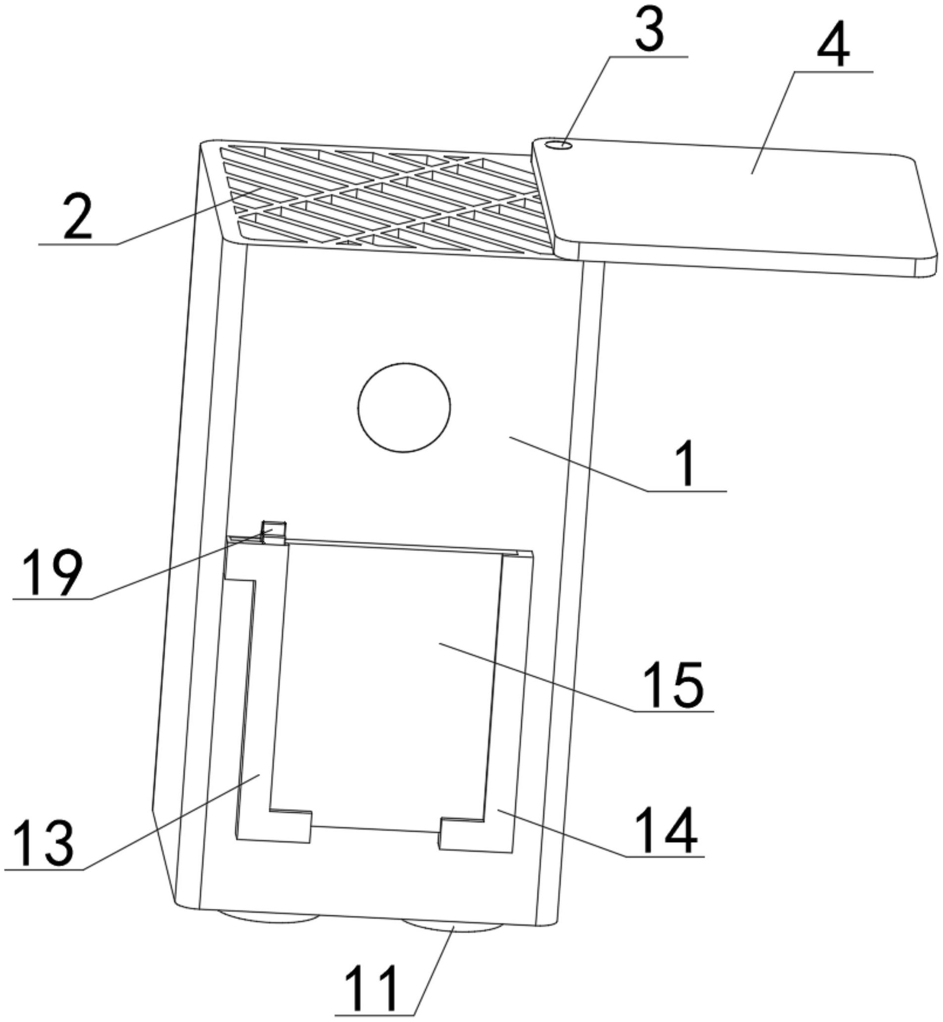
本实用新型属于空气净化器技术领域,且公开了一种带有良好防水结构的空气净化器,包括空气净化器本体,所述空气净化器本体的顶部开设有排气口本体,所述空气净化器本体顶部右侧的后方固定连接有固定块。本实用新型通过设置活动板、圆块、连接块、柔性弹簧、和圆孔,当操作人员向下拉动连接块时,将会通过活动块使得圆块发生向下运动,使得圆块从活动板的内部脱离,解除对活动板的固定效果,此时操作人员可以转动活动板使其运动到排气口本体的上方,松开连接块使得圆块进入至圆孔的内部对活动板进行固定,由于活动板的设计,从而使得外界的水源无法通过排气口本体进入的到空气净化器本体的内部。


