授权公布号:CN219467595U
一种抗疲劳腰靠
有效
申请
2022-12-19
申请公布
1970-01-01
授权
2023-08-04
预估到期
2032-12-19
| 申请号 | CN202223398658.1 |
| 申请日 | 2022-12-19 |
| 授权公布号 | CN219467595U |
| 授权公告日 | 2023-08-04 |
| 分类号 | B60N2/66 |
| 分类 | 一般车辆; |
| 申请人名称 | 河南牧宝车居股份有限公司 |
| 申请人地址 | 河南省开封市河南自贸试验区开封片区郑开大道296号自贸大厦A座205室住所集中地(经营场所:开封市陇海三路和第十大街交叉口) |
专利法律状态
2023-08-04
授权
状态信息
授权
摘要
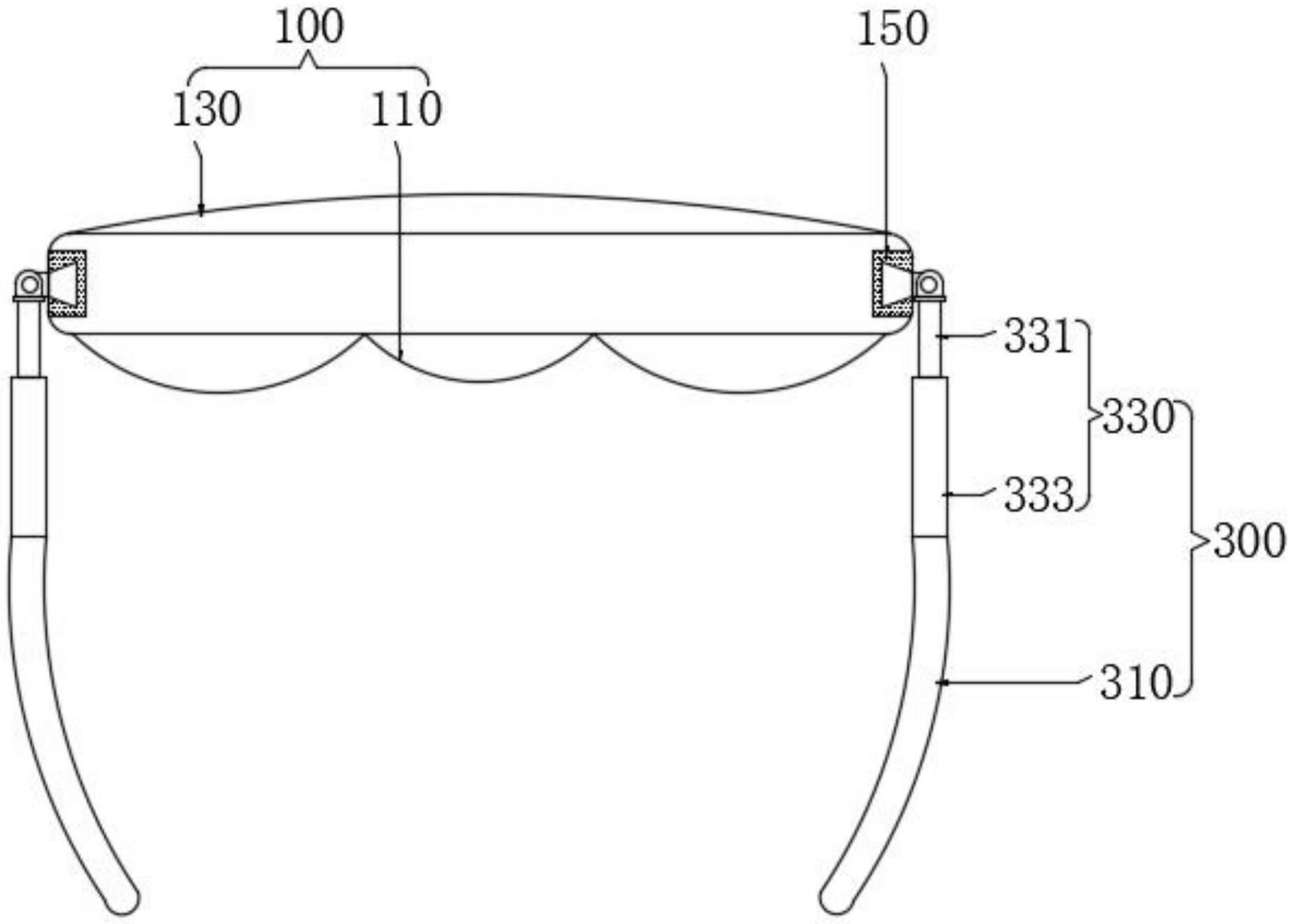
本实用新型提供了一种抗疲劳腰靠,属于腰靠技术领域。该抗疲劳腰靠,包括腰靠枕和腰夹;所述第一气囊设置有两个,两个所述第一气囊分别对称设置在所述腰靠枕两端,所述第二气囊设置在所述腰靠枕中部;所述腰夹包括弧形板和伸缩杆,所述伸缩杆的一端与所述弧形板固定连接,所述伸缩杆的另一端与所述腰靠枕连接。根据需要改变气囊气量,用于调整所需支撑力度以及腰靠枕表面凹陷程度,与人腰部结构相适配,符合人体工程学,舒适感较好;减少因久坐疲劳,上枕面为透气材料制成,提高透气性;通过增设的腰夹夹持在腰部,使得在使用过程中保证腰靠与腰部很好的贴合,在实际使用过程中增强了缓解疲劳方面的作用。


